08
09

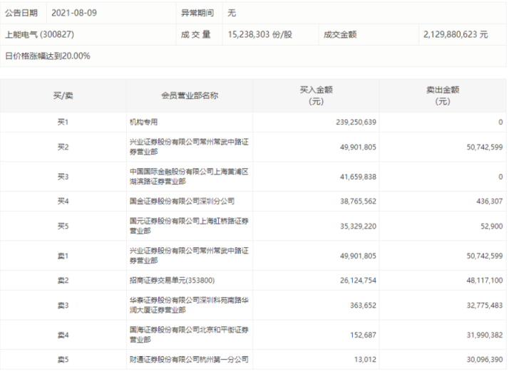
龙虎榜:上能电气复牌涨停,一机构席位买入2.39亿元

2021-08-09 16:50分享至
上能电气今日完成停牌核查后,复牌首日再次涨停,连续四个交易日涨停。龙虎榜数据显示,买一机构席位买入2.39亿元。买二兴业证券常州常武中路同时位居卖一席位,该营业部买入4990万元并卖出5074万元。(证券时报)原文链接
龙虎榜:上能电气复牌涨停,一机构席位买入2.39亿元

下一篇

牧原股份今日涨停,盘后龙虎榜数据显示,深股通买入4.17亿元并卖出2.7亿元,两机构买入超1.7亿元。(证券时报)

2021-08-09

36氪APP让一部分人先看到未来
36氪
鲸准
氪空间

推送和解读前沿、有料的科技创投资讯

一级市场金融信息和系统服务提供商

聚焦全球优秀创业者,项目融资率接近97%,领跑行业