07
15

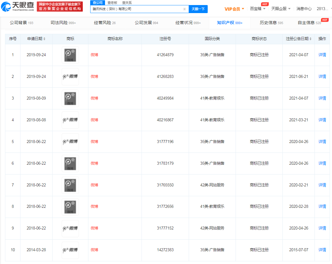
腾讯再次申请微博商标 或将重启腾讯微博

2021-07-15 11:01分享至
36氪广东获悉,天眼查App显示,近日,腾讯科技(深圳)有限公司申请注册“微博”商标,国际分类涉及通讯服务,目前商标状态为注册申请中。天眼查显示,目前腾讯公司已注册多项“微博”商标,据悉,腾讯曾于2020年9月宣布关停腾讯微博。原文链接
腾讯再次申请微博商标 或将重启腾讯微博

下一篇

36氪广东获悉,天眼查App显示,近日,华为技术有限公司申请注册“超聚变”商标,国际分类为网站服务、教育娱乐。目前商标状态为申请中。 值得一提的是,今年7月,华为曾投资成立超聚变技术有限公司,后者注册资本7.27亿人民币,股东信息显示,超聚变技术有限公司由华为技术有限公司全资持股。

2021-07-15

36氪APP让一部分人先看到未来
36氪
鲸准
氪空间

推送和解读前沿、有料的科技创投资讯

一级市场金融信息和系统服务提供商

聚焦全球优秀创业者,项目融资率接近97%,领跑行业