海尔,第10家上市公司要来了
41岁的海尔集团,仍在加速资本版图扩张。
2025年12月31日,海尔集团旗下新能源科技公司海尔新能源科技股份有限公司(下称:海尔新能源)在青岛证监局辅导备案,正式开启IPO,辅导机构为国泰海通。
来源:证监会官网截图
值得一提的是,2025年12月3日,在“2025独角兽企业500强大会”上,海尔新能源刚刚获评“全球独角兽企业”。
官网显示,海尔集团旗下有海尔智家、雷神科技、海尔生物、盈康生命、上海莱士、新时达、汽车之家(控股)、众淼控股8家上市公司。此外,2024年9月,海尔集团旗下有屋智能在创业板上市未果后正式登陆新三板,算上这家,则共有9家上市公司。
与有屋智能“坎坷”境遇类似的还有日日顺。2024年10月,深交所发布公告称,因公司撤回上市申请,终止对日日顺首次公开发行股票并在创业板上市审核。
走过2024年的“坎坷”,进入2025年的海尔集团,先是在2月份完成对A股上市公司新时达(业务包括电梯控制系统和工业机器人)的收购,随后在8月,众淼控股在港交所主板挂牌上市。
一年内收获两家上市公司的海尔集团并未停步,2025年9月和12月,其旗下工业互联网平台卡奥斯、新能源科技公司海尔新能源先后进行辅导备案,开启IPO,共同争夺海尔集团第10家上市公司的头衔。
至此,“海尔系”在资本市场的布局正不断向医疗、物流、家居、能源等多个行业拓展。
天眼查App信息显示,海尔新能源成立于2022年5月,曾用名日日顺新能源科技有限公司、纳晖新能源科技有限公司、海尔新能源科技有限公司。公司法定代表人为董增;董事长则为解居志,系海尔集团高级副总裁、海尔电器集团有限公司执行董事兼行政总裁。资料显示,他曾是海尔顾服、社区店渠道业务、净水业务等带头人,日日顺物联网董事长。
依托“数智化、一体化、全周期资产运营”核心竞争力,海尔新能源构建“发电→储电→管电→售电”全产业链布局,以“硬件+软件+服务”一体化解决方案深耕全球市场。
来源:官网截图
在人工智能时代,海尔新能源以AI重塑分布式新能源行业,其分布式智慧新能源管理平台及源网荷储一体化方案,通过技术融合与生态协同,实现了能源效率、经济性与可持续性的三重突破。
数智化领域,海尔新能源通过全流程AI应用,从仿真规划、AI设计、智能装配、智慧管理、智慧运营等全流程提升运营效率和电站建设质量;
一体化领域,海尔新能源构建“发、储、管、售”一体化能力,升级家庭微电网、村级微电网、工商业微电网方案矩阵,并以移动微电网作为灵活补充,实现多能互补的智慧能源生态;
资产运营领域,海尔新能源打造与大电网互济统一,智慧、高效、普惠的能源互联网生态平台,通过绿电绿证交易、碳资产管理、虚拟电厂平台等方式,实现从运维到数智化的能碳管理。
目前,海尔新能源的业务版图已由国内30多个省拓展至欧洲、澳洲、东南亚、南亚、非洲等全球50多个国家和地区,通过产学研协同创新机制,已申请专利390余项,核心技术转化为产品及方案竞争力。以自研AI能源机器人为例,该机器人真正做到能感知、能决策、能执行,成为新能源系统和负载之间智能调度、多目标寻优的智慧大脑,实现综合能源利用率提升30%以上。
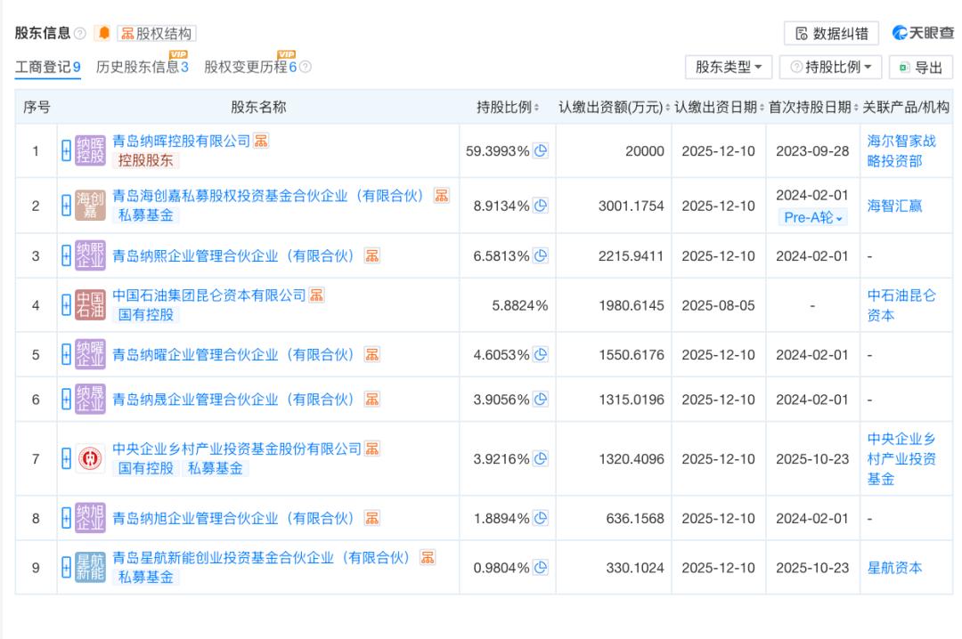
成立近三年,海尔新能源首次也是迄今唯一一次公开披露融资消息,2025年4月,该公司宣布获得国投创益、中国石油昆仑资本、普超资本、星航资本、恒旭资本等资方超7亿元投资。
工商变更显示,今年10月,海尔新能源新增中国石油昆仑资本、国投创益旗下中央企业乡村产业投资基金股份有限公司、恒旭资本旗下苏州申祺利纳绿色股权投资合伙企业(有限合伙)、中金资本旗下中金钛合绿碳科技私募股权投资基金(深圳)合伙企业(有限合伙)、星航资本旗下青岛星航新能创业投资基金合伙企业(有限合伙)等股东,持股比例分别为5.8824%、3.9216%、1.9608%、1.9608%、0.9804%。
来源:天眼查
目前,海尔新能源控股股东为海尔集团公司全资子公司青岛纳晖控股有限公司,直接持股59.3993%。此外,海尔集团旗下海智汇赢持股8.9134%,其余股份由员工持股平台所有。
需要注意的是,2024年7月,海尔新能源与青岛蓝谷管理局共同打造的新能源产业互联网生态园开工,总投资约60亿元,旨在构建一个集研发、生产、供应、销售、展示于一体的综合产业园区,该生态园一期已于2025年10月正式启动试投产。
据悉,生态园一期主要生产光伏逆变器、储能变流器、场景产品、阳台套装等产品,布局了13条专业化生产线,其中包含5条逆变器生产线与8条电路板生产线,全面覆盖智慧能源控制器的研发、制造及销售全链条业务。
在生态园开工时,青岛纳晖智能科技有限公司(现名:青岛海尔智能科技有限公司,由海尔新能源100%控股)总经理赵碧云表示,围绕海尔纳晖的战略目标,生态园将建立1个智慧能源管理系统,建设2个新能源创新实验室,3大产业落地,4大应用场景从而打造数智融合、绿色低碳、场景定制的智慧新能源产业互联网生态园区,建成三年内力争营业收入超百亿,力争2026年实现公司上市。
如今,伴随海尔新能源进行辅导备案,速度快的话,2026年上市的目标,或许会如期而至实现。
本文来自微信公众号“直通IPO”,作者:王非,36氪经授权发布。















