北京宅地上新,海淀再出“王炸”
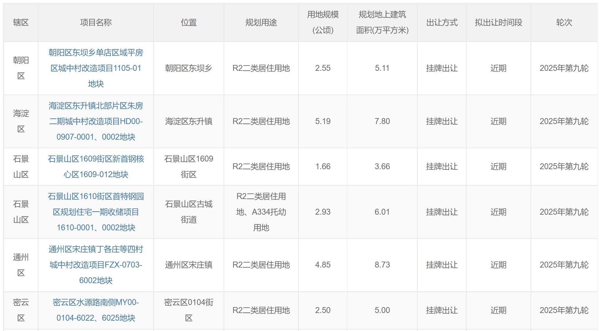
11月21日晚间,北京规自委官网发布了2025年第九轮拟供应商品住宅用地清单,共涉及6宗地,土地面积约20公顷,建筑规模约36万平方米,上述用地拟于近期供应。
从区域分布来看,中心城区4宗(朝阳区1宗、海淀区1宗、石景山区2宗),通州区和密云区各1宗。
数据来自北京规自委官网
6宗地中,最引人注目的当属海淀朱房地块。
朱房二期城中村改造项目HD00-0907-0001、0002地块,位于海淀区东升镇。地块性质为纯住宅用地,用地规模5.19公顷,规划地上建筑面积7.8万平方米。
该地块临近北五环,西侧为京藏高速,最近地铁站为8号线永泰庄站,距离大约1.5公里左右。地块西侧3公里左右有海淀今年两大热盘:臻澐和建发海晏,两项目网签价在13万/㎡左右。其所属的清河板块,二手价在6.7万/㎡左右。
朱房地块位置
周边生活配套较为丰富,距离清河万象汇、西三旗万象汇等大型商业配套在3公里左右,奥林匹克森林公园北园、东小口城市公园等休闲配套也环伺其左右。
虽不如西二旗的产业优势,但该地块北侧1公里外的中关村东升科技园,也聚集着数百家高新技术企业。并且据近日消息报道,字节跳动已租下东升科技园二期1号楼,字节旗下包括抖音内容运营、研判治理约2000名员工预计在明年3月搬迁至此。这也或将为未来朱房项目去化提供购买力支撑。
另一亮点地块则是朝阳区东坝1105-01地块,地块性质为R2二类居住用地,用地规模2.55公顷,规划地上建筑面积5.11万平方米。
东坝地块位置
地块邻近地铁3号线东坝站、东坝南站、姚家园站。生活氛围浓厚,万达广场、金隅嘉品Mall、北京市第一中西医结合医院(东坝院区)、京城体育休闲公园等生活配套设施分布左右。
东坝二手房价格在4.5万/㎡,地块周边二手房包括金隅汇景苑4.7万/㎡左右,首开·常青藤6.6万/㎡左右,保利首开天誉稍微,约为9.4万/㎡等。
石景山区涉及2宗宅地,都在古城街道。一宗是1609街区地块,邻近地铁11号线新首钢站,周边有六工汇购物广场、金安环宇荟购物中心、首钢园、北京冬奥公园等生活配套设施。
1609街区地块位置
一宗是1610街区地块,邻近地铁1号线、6号线、S1线换乘站苹果园站、11号线北辛安站。周边有喜隆多购物中心、京西大悦城、古城公园、首钢园等生活配套设施。
1610街区地块位置
此外,通州区新上宅地处在六环外的宋庄镇,北侧是宋庄画家村,生活配套还算可以,西北侧不远是宋庄艺术小镇和安贞医院,北侧也有宋庄首开LONG街等。
通州宋庄地块位置
密云新地块,则位于密云区0104街区,周边有北京密云万象汇、燕赛奥特莱斯购物中心、国泰百货(密云店)、北京大学第一医院密云院区、奥林公园等生活配套设施。
密云地块位置















