苹果真急了,手机新技术公开,直接炸穿 “天花板”
自从华为的三折叠手机大热后,友商们似乎突然意识到多折叠屏的市场和趋势,个个开始磨刀霍霍。
而且还把话题导向了更高大上的四折叠,到时候就是“四折叠,怎么折,都有面”了。
虽然现在折叠屏在智能手机总出货量的占比中不算高,但其在高端机型中无疑已是炙手可热的品类。
去年相关机构的调查就显示,现在高端手机用户对折叠屏的更换意向已经很高,其中中国受调查的用户已经有 20% 明确会在下一台手机时选择折叠屏。
这让 2024 年都未推出折叠屏的苹果坐不住了,其近几年频繁申请折叠屏专利也可佐证苹果对于折叠屏的躁动。
但是对于苹果来说,在双折叠领域明显已经严重失先,而多折叠屏领域或许是个不错的弯道超车机会。
而最近,苹果新申请的专利也提到了关于三折叠,甚至更多折叠的新方案,可以说是极致的战未来。
下图 FIG.27 是关于三折叠屏的方案,可以看到与华为的三折叠屏有点类似。
而 FIG.28 是多折叠方案,乍一看可能以为是四折叠屏。
但实际上根据专利描述,省略号位置的屏幕数量是并没有限制,可以理解为想做几折就做几折。
看来屏风手机指日可待啊,以后谁的手机折叠越多,谁就最有面子。
不过想得倒挺好,四折叠就算真做出来,厚度可能也会无法接受。
这款华为的三折叠在完全展开后已经薄的可怕,甚至与一般的鼠标垫相当,拿在手上已经有点怕掰弯。
可即便如此,它在折叠状态下还是偏厚的,这些问题在四折叠上只会更加明显。
如果想要更大屏幕的手机,或许三星的转轴屏是更好的方案。
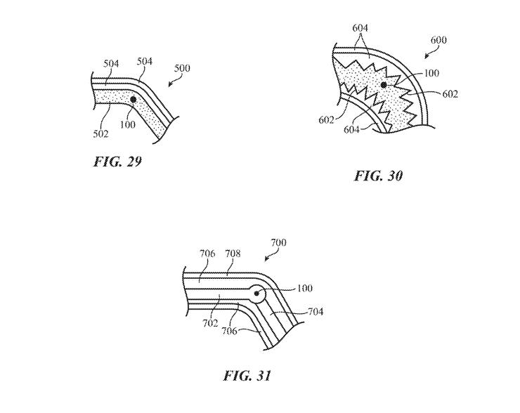
在铰链结构方面,专利展示了 3 种结构。
FIG.29 为柔性铰链结构,这个结构可以由各种柔性材料构成,比如柔性泡沫、柔性塑料、柔性金属等等。
之前苹果就有相关折叠屏专利企图用柔性铰链消除折痕。
然后 FIG.30 是一种手风琴状的铰链,最下边的 FIG.31 则是转轴结构铰链。
或许苹果想在多折叠领域抢占一丝先机,不过以目前的进度,讨论苹果的多折叠机型何时上市显然为时尚早。
但是双折的产品还是可以期待一下的,根据供应链的多次报道,苹果的折叠屏已经箭在弦上。
比如此前爆料将于 2025 年底生产的 20.3 英寸折叠屏设备,目前尚不清楚是 iPad 还是 Mac,果子希望是可触控的 Mac。
而可折叠的 iPhone 则至少要等到 2026 年,据称主要是因为折叠屏难以通过 iPhone 的高耐用性要求,展开后的折痕问题也难以解决。
苹果不想推出一款不成熟的产品而导致折叠屏长期难产,这个说法可以说是符合库克时代苹果的战略风格的。
不过这种风格对消费者来说确实比较无聊,像昨晚突然发布的 iPad mini 7,虽然处理器从 A15 升级到 A17 Pro 提升还是不错的,内存据说也有 8GB,但整体升级幅度无聊到官方都懒得做宣传视频了。
希望后续的苹果折叠屏能来点大动静吧。
本文来自微信公众号“科技狐”(ID:kejihutv),作者:果子,36氪经授权发布。















