枝繁繁“硬刚”,华熙生物恐正掉进“自证陷阱”
一则声明再次将华熙生物推向了风口浪尖!
6月26日晚,华熙生物官方公众号发布《关于华熙生物个别离职员工违规事件的声明》,尽管没有指名道姓,但业界普遍认为这是对前员工枝繁繁接连通过社交媒体指控华熙生物“职场霸凌”的正式回应。在这份声明中,华熙生物称“已完全掌握相关个人侵犯知识产权、违反竞业禁止约定、违规违法套取经济利益的全部事实,必将维护投资者权益与市场正常秩序”。
●截图自华熙生物官方微信公众号
对此公告,枝繁繁也第一时间在其社交账号进行了回应,称“离职后的网暴,熟悉的味道又来了。霸凌无法停止,那就正面回应”。
双方的态度看起来都颇为强硬,持续了数日的纷争再度升级,背后真相究竟如何?又折射出企业在发展中不得不面对的哪些问题?
1 枝繁繁“手撕”老东家,同步推自有品牌
枝繁繁原本对外的身份是华熙生物旗下护肤品牌夸迪的“品牌主理人”。今年3月7日,枝繁繁在个人抖音及小红书账号发布视频,称“时间不语,聚散有期,岁月不急,各有归处”,透露自己已离开夸迪。
但在时隔三个多月后的6月16日,枝繁繁再次通过其社交媒体账号,发布了一则题为“贪污公款、乱搞关系?我被市值300亿上市公司职场霸凌”的视频。
在该视频中枝繁繁称,自己在离开华熙生物后遭受了大量质疑,但一直没有发声,直到5月16日,夸迪的官方客服号在所有夸迪经销商群里公然造谣,说代理商交了货款但公司未发货,是因为货款都在枝繁繁手中;公司不给代理商发奖励是因为第三方公司是枝繁繁的关系。此外,枝繁繁还称自己和家人因此遭受网暴,并表示要正式起诉华熙生物。
“职场霸凌”“网暴”“乱搞关系”“贪污公款”等一系列惊爆眼球的关键词之下,该视频一经发布便引发了行业内外的高度关注和情绪发酵,甚至被博主戏称是“2024护肤行业最大的瓜”,华熙生物很快被带入了舆论漩涡。
不过,也有人发现在这条控诉视频发出后不久,枝繁繁的个人品牌“繁妆”也火速面世。6月23日,繁妆的天猫旗舰店正式上线,此外还同步开通了抖音、小红书、微博和微信公众平台的官方账号。枝繁繁的社交媒体简介也改为了“繁妆品牌创始人”。
截图自繁妆天猫旗舰店
华熙生物在沉默了10天之后,以发声明的方式进行了隔空回应。
在这份声明中华熙生物指出,“因为高速发展的历史原因,华熙生物在人员引入时出现过鱼龙混杂,个别行为作风有待商榷的社会人员被招聘到相关岗位,相关人员很快显示出无原则无理想、做一吹十、炒作个人IP、毫无守法合规意识等个人作风,他们与华熙生物的气质和企业文化格格不入,必然成为这一轮组织变革的重点调整对象”。
关于枝繁繁的“品牌主理人”身份,华熙生物也公开予以否定,称“未设置过品牌主理人职务”。据悉,在内部组织架构上,华熙生物此前将功能性护肤品旗下四大品牌夸迪、润百颜、米蓓尔和肌活分成四个事业部运营,枝繁繁的实际职务为“品牌营销总监”。
对于老东家的这份声明,枝繁繁第一时间在社交平台进行了回应,称“我无法回应这份不点名的声明”“特别是这份声明里明确充斥着各类不实信息”,并且最后强调“这一次,任何人,任何事,都不能够阻止我和我的新牌繁妆与你们见面”。
《FBeauty未来迹》发现,繁妆店铺、社交账号以及产品的主体企业均为揽华生物科技(山东)有限公司,注册于2024年2月29日。
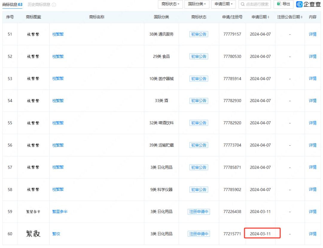
企查查显示,该公司目前有“枝繁繁”“繁妆”“FAN MAKEUP”“瑾然”“繁星参半”“揽华”等多个商标在申请注册中,最早一个名为“繁妆”的商标申请注册时间为今年3月11日。
截图自企查查
对此,枝繁繁在媒体采访中表示,注册公司是在正式离职一个月之后,一开始她想买下“繁妆”的商标,但当时该商标已归属揽华生物所有,最后就把繁妆商标和揽华生物一起买下来了,并以揽华生物为主体开了店。
值得一提的是,繁妆首批上市的次抛精华,从产品名到定位都与夸迪高度相似,繁妆所推出的“蓝宝石次抛”不仅和夸迪一样主打蓝铜胜肽,其核心成分专利更是和夸迪用的同一款。该商品详情页中显示其使用的“复合肽”获中国发明专利,专利号为ZL202110215515.3,和夸迪“蓝次抛精华”所使用的专利相同。
上图截自夸迪天猫旗舰店、下图截自繁妆天猫旗舰店
国家知识产权局专利检索及分析平台信息显示,该专利的公开申请人为山东科思达美生物技有限公司,权利人为科思达美和华熙生物科技股份有限公司。
对于采用和夸迪相同的专利,枝繁繁在公开接受媒体采访中表示,自己向科思达美申请的专利授权,整条专利链路合情合理合法合规。
2 夸迪崛起的三大红利与华熙生物的“癸卯变法”
对于整件事件的社会评价,目前呈现出两极分化的趋势。
一部分人和枝繁繁表现出了高度共情,甚至表示不会再购买夸迪的产品,并指责华熙生物“卸磨杀驴”。
而另一部分人对枝繁繁同步推自有品牌的行为提出了质疑,认为其将在华熙生物企业内部和经销商之间传播的部分信息,以极具爆炸性的标题发布到社交媒体上,醉翁之意不在酒。
客观来说,夸迪品牌能在短短几年跻身“10亿俱乐部”,有内外部很多关键因素。首先自然是离不开枝繁繁所在的夸迪团队的辛勤付出,人的主观努力是事能成的基础之一。
但不可忽视的是,夸迪的崛起还离不开三大红利。
首先是离不开中国功效性护肤品市场整体高增长的时代红利。
数据显示,2017-2021年我国功能性护肤品市场规模从102.5 亿元增长至 309.6 亿元,年均复合增长率为 31.8%。到目前为止,功效性护肤品仍然是拉动中国护肤品市场大盘增长的主要动力。
其次是离不开华熙生物在研发上持之以恒的高投入带来的技术红利。
华熙生物不仅是全球透明质酸领域的翘楚,同时也是中国本土美妆企业中,研发投入最高的企业。如果没有华熙生物在透明质酸领域的学术地位和技术实力为后盾,夸迪很难短期崛起。
据悉,对于旗下每个子品牌,华熙生物都会提供在研发、生产和品控等全链路的支持,这也让夸迪和市面上单打独斗的品牌相比,拥有不可比拟的发展优势。
再次则是渠道红利。
夸迪的起步阶段抓住了淘宝渠道从主推进口品向国产品转型的机会,成功在淘C渠道出圈,紧接着通过李佳琦直播间彻底翻红。财报显示,2020年-2022年,夸迪的营收分别为3.91亿元、9.79亿元和13.68亿元,复合增长率高达51.81%。
人成事,事成人。应该来说,枝繁繁和华熙生物之间原本是一段互相成就的行业佳话。
但随着竞争越来越激烈,夸迪所面对的行业生存环境在迅速变化。
首先是功效性护肤品市场竞争越来越激烈,到2023年几乎所有的护肤品品牌都在“卷功效”“卷科研”。与此同时,天猫和淘宝渠道开始不断下滑,抖音、快手等直播电商崛起,渠道生态也开始改变。
意识到风险的华熙生物在2023年开始主动放慢发展速度,寻求变革。华熙生物表示,公司正主动摆脱过去成功的路径依赖并主动进行变革,从快速增长过渡到持续稳健增长,从聚焦收入增速到聚焦业务健康度和可持续发展能力,从关注发展速度到关注发展质量,从关注利润指标到关注组织能力和运营管理能力等关键能力的提炼和巩固。
在业内人士看来,华熙生物的变革方向其实是非常明确且直指要害的。
首先是研发层面的变革。
2023年华熙生物董事长赵燕在多次公开演讲中,开始明确将华熙生物定义为“一家用合成生物科技创新驱动的生物科技公司,生物材料的全产业平台公司。”
这种调整的意义在于,在各大企业集中“卷研发”的竞争环境中,给了华熙生物一个明确的“研发站位”,向外清晰地传递出了华熙生物在底层技术层面所拥有的优势。这种优势传导到产品层面,则有利于华熙生物旗下品牌摆脱“集中卷透明质酸”彼此内耗的不利局面,为长期的稳健增长建立基础。
其次,不可避免的将是人事和组织架构调整。
对于华熙生物来说,短期内求增长的必然路径是做好直播电商;而长期稳健增长的核心是以数字化为基础的全渠道运营能力。
而做好直播电商需要的是极致扁平化的短平快组织架构。这和以天猫、淘宝等平台电商为主的企业所需要的人才和组织架构有诸多区别。
简单归纳起来,华熙生物在研发和人事方面的主动调整,其实核心是为了解决公司未来准备“干什么”以及“谁来干”两大核心问题。
不少业内人士都知道,其在2023年下半年到2024年上半年期间,进行了激烈地人事调整,枝繁繁也是在这样的大背景下离职。
事实上,枝繁繁和华熙生物之间原本的最佳结果是谱写一段互相成就的行业佳话,然后好聚好散;再不济也是“各自安好”,江湖再见;如今却陷入了最尴尬的“互相杯葛”局面,着实令人唏嘘。
抛开整件事情背后双方的是是非非不谈,从品牌建设、企业管理以及舆情公关的角度出发,对美妆行业来说思考点颇多。
3 华熙生物恐正在掉进“自证陷阱”
在人人都是自媒体的时代,如何面对网络舆情正在成为企业的必修课。
在枝繁繁和华熙生物的这场纠葛中,虽然在大部分普通消费者眼里枝繁繁是“弱势”一方,而华熙生物天然代表的是强大的公司。但在专业人士眼里,华熙生物却是被动一方,甚至正在掉进“自证陷阱”。
在受算法驱动的社交媒体传播环境中,由于算法会根据用户的过往行为轨迹和偏好,持续推荐同类内容,所以信息茧房的形成将是一种不可避免的现象。在这种传播环境下,同类内容会不断强化用户的某种情绪,并让这种情绪蔓延,然后同类相聚形成广场效应。
所以,深谙互联网营销的专业人士都知道,“情绪”才是社交媒体的流量密码。
而当一个有血有肉、情绪外放的“枝繁繁”在社交媒体上对上说话做事都需要保持“克制”甚至“客套”的“华熙生物”时,后者的被动与尴尬几乎一眼可知。
“枝繁繁”可以眼含泪水面向镜头进行讲述,然后用“职场霸凌”“网暴”“乱搞关系”“贪污公款”等字眼“调动”大众情绪;但华熙生物作为一家上市公司,似乎天然只能用冷冰冰的“声明”来回应。谁更能争取舆论的同情,可想而知。
而更糟糕的是,当社交媒体舆论一旦给华熙生物贴上某种负面标签,由于信息茧房的存在,大众舆论就会对华熙生物的反驳意见选择视而不见,这种舆论一旦形成,华熙生物很快就会陷入“自证陷阱”。
在电影《让子弹飞》中,小六子被污蔑吃了两碗粉,为了自证清白最后只能剖开肚子,以此来证明自己只吃了一碗粉。这就是典型的“自证陷阱”。
去年花西子在面对“79元眉笔事件”时如此,如今华熙生物面对“枝繁繁”时同样如此。
花西子无论能不能自己证明79元眉笔卖得不贵,都会付出惨痛代价;而华熙生物无论能不能自证清白,也将是损失最大的一方。因为“枝繁繁”所挑选的“职场霸凌”和“网暴”这两个话题等同于一个“情绪火山口”,一旦喷发就将不受控制。
而这种情绪一旦在社交媒体大面积爆发,传播就会进一步出圈,从而引发财经媒体和官媒互动报道,最终就会演变成一个社会性事件,彻底失控。
对于华熙生物来说,接下来在公司内部彻查“枝繁繁”的相关指控是否属实,并如实公布真相和处理结果,对外树立求真务实的正面公众形象;同时与财经媒体与官方媒体保持沟通,避免事态进一步扩大,可能是比发声明更重要的当务之急。
4 品牌主理人IP终究是“带刺的玫瑰”
此外,从品牌建设的角度实际也给行业敲响了警钟——品牌个人IP与品牌的关系管理上需要慎重再慎重。
作为一个“舶来”词,“主理人”这个概念源自一些潮牌,希望在称谓上和传统大众品牌的管理者区分开。通常,有主理人的品牌,强调的是更个性化、风格化的审美观。这些主理人往往自带流量,拥有圈层内一批忠实追随者。
在过去几年,伴随着消费赛道的热度,主理人的概念开始在中国被引入并流行,但落地到美妆圈,主理人的真正身份和权限职责并不尽相同,有的是白手起家的股东创始人,有的则是外聘的专业操盘手。
此前在华熙生物的枝繁繁,角色本来是企业的“职业经理人”,是品牌的策略执行者。但夸迪品牌在前期发展中,枝繁繁以“品牌主理人”的个人IP进行营销运作和宣传,甚至此前在社交平台的简介还是“夸迪创始人”,这在社交媒体时代,能快速与消费者建立联系、提升品牌认知度。但这么做的弊端在于,在部分消费者和渠道商心智中,枝繁繁的个人IP与夸迪品牌做了强绑定。
这对于品牌而言是十分危险的信号。一旦个人IP崩塌或者个人IP“背叛”品牌IP,就会一损俱损。
所以,在社交媒体时代品牌主理人个人IP看似是条直达用户心智的捷径,其实是品牌建设的“大坑”。“品牌主理人”这个时髦的称呼,如果不能和“创始人”合二为一,就要极为慎重。
据悉,夸迪的新管理团队已搭建完毕,而在功能性护肤品研发板块上的调整,华熙生物称也已取得初步成效:一方面,使功能性护肤品研发板块能够快速响应市场需求,验证更加充分严谨,多任务协同使从洞察需求到产品上市的周期平均缩短 10.5%;另一方面,从卓效护肤创新技术、中试工艺技术等六大方向全面展开科研布局,目前实现项目资源有效利用率提高7.1%,整体项目健康度提升21%。根据华熙生物公布的2024年一季度财报,集团营业收入达13.6亿元,同比增长了4.24%。
对于华熙生物来说,尽管在表面上遭遇了一些战略调整的波折,但如果从更宏观的视角出发,“枝繁繁事件”终将只是华熙生物深度变革的一个插曲。而将此事件放在行业视角,关于品牌IP的打造、舆情危机的应对,对企业发展也具有一定的警示意义。事态走向如何,《FBeauty未来迹》将持续关注。
本文来自微信公众号“FBeauty未来迹”(ID:F-beauty0312),作者:巫蜿卿、文书桓,编辑:刘颖,36氪经授权发布。















