黄光裕接管国美金融业务,能否完成久拖7年的支付牌照收购?
进入2024年,黄光裕已回归国美3年,早已不复当年之勇。
“用18个月的时间,让国美恢复原有市场地位。” 2021年2月,国美创始人黄光裕重回商业江湖的首次公开发声犹言在耳。他希望就此重整旗鼓,重振国美往日声望,并为此制定了详细计划。最终豪言未能成真,国美已风雨飘摇多时,2023年屡屡陷入欠薪、裁员等漩涡。
日前,媒体报道称黄光裕已亲手接管的国美金融业务,主要业务负责都直接向他汇报。这一举动备受关注。
时代周报记者注意到,国美体系的金融业务主要包括盈美信科(原国美金融)和国美金融科技(00628.HK)。不过,这两家公司均不是国美控股集团持股,而由黄光裕、杜鹃夫妇掌控。2022年10月,盈美信科控股股东由国美控股集团变更为鹏润投资,后者实控人为黄光裕,而杜鹃则持股国美金融科技60%以上。
七年前,国美就已筹划拿下一张支付牌照。2017年,国美金融科技就看中银盈通支付有限公司(下称银盈通),欲用7.2亿元收购持有这家第三方支付机构97%股权的天津冠创。时至今日,这一事项仍未获得中国人民银行的批准。当初那笔巨额收购款已有2.08亿元计入减值亏损。
银盈通的近况也不尽如人意。银盈通于近日收到来自中国人民银行的400多万元罚单。时代周报记者还注意到,银盈通卷入多宗司法案件,不少与“国美系”公司相关。
银盈通祸不单行
国美迟迟未能将银盈通正式拿下,双方的合作早已展开。
2016年10月,银盈通和国美控股集团达成战略合作,为国美控股集团的零售、金融、物流等场景提供支付服务,并帮助其推出核心产品“美付宝”。
国美的经营下滑,出现债务危机、诉讼纠纷、供应商欠款、欠薪等众多问题。银盈通也受到波及。时代周报记者发现,在近期多起“国美系”公司因商业合作纠纷被诉讼的案件中,银盈通也成为被告。
此外,中国人民银行北京分行近日发布对银盈通及其总经理张某鹏的行政处罚信息,因未按照规定履行客户身份识别义务和未按规定报送大额交易报告或可疑交易报告,分别被处罚403.97万元和9.72万元。
△银盈通的行政处罚信息 来源:中国人民银行北京市分行
这不是中国人民银行首次行政处罚银盈通。2018年和2020年,中国人民银行营业管理部均向银盈通开出罚单,其中2020年的罚没金额高达上千万元。
从银管罚〔2020〕3号的行政处罚决定书中获悉,银盈通因未按规定履行客户身份识别义务、未按规定履行客户身份资料和交易记录保存义务触犯《反洗钱法》,被罚没271万元。此外,银盈通还因违反清算管理规定和非金融机构支付服务管理办法相关规定被没收违法所得606.93万元,并被处罚款911.83万元。
△银盈通的执行信息 来源:中国执行信息网
△银盈通的执行信息 来源:企查查
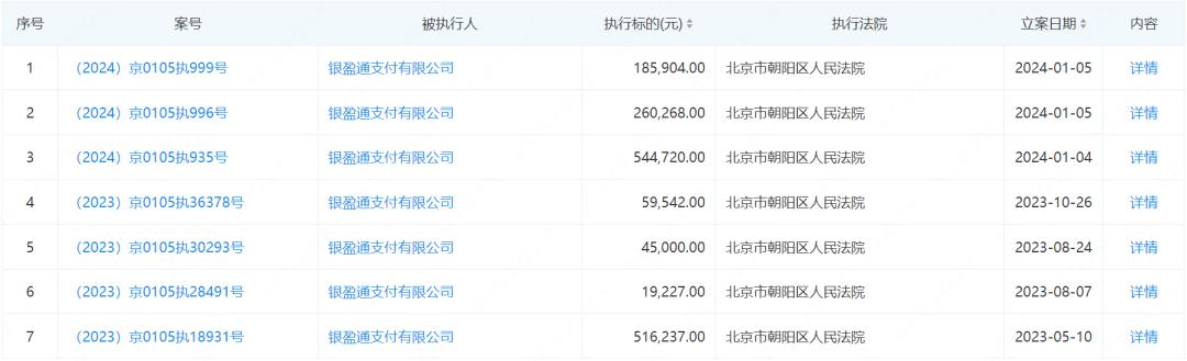
银盈通的执行信息也在增多。从中国执行信息网和企查查获悉,银盈通最新一条执行信息的立案时间为2024年1月5日,执行标的为18.59万元,执行法院系北京市朝阳区法院。自2023年至今,银盈通已被法院累计执行7次,共计执行金额163.09万元。
据官网信息,银盈通2005年4月在北京注册成立,2013年便获得《支付业务许可证》,同年经国家外汇管理局批准,成为国内首批跨境电子商务外汇支付业务17家试点机构之一。
2023年1月,银盈通的《支付业务许可证》得以续展,牌照有效期延至2028年1月,中国人民银行准许其在北京市、山西省、云南省、贵州省等地开展预付卡发行与受理业务,以及互联网支付业务。《支付业务许可证》续展或是国美坚持拿下这张支付牌照的主要动力。
△银盈通官网公告 来源:银盈通官网
时代周报记者还注意到,银盈通官网已疏于更新,谨防上当受骗的弹窗公告所写日期为2021年4月,而公司历程也还停留在2018年。
收购何时落幕?
2016年以来,美团、小米、滴滴等互联网巨头纷纷出手收购第三方支付机构,为一张支付牌照不惜斥资数亿元。国美也很早就已加入购买支付牌照的行列,但至今依旧求而未得。
据国家企业信用信息公示系统,2017年至今,银盈通的股东架构就未发生变更,银商通电子商务有限公司(下称银商通)和自然人股东陈忠持有全部股权,分别持股97%、3%。银商通是天津冠创的全资子公司。
2017年6月7日,国美金融科技公告称,全资子公司信达保理将向杜鹃控股90%的博盛汇丰提供7.2亿元免息贷款,用于收购天津冠创的全部股权。该公告显示,天津冠创在2015和2016年的除税及非经常项目后亏损分别为1.29亿元和3.30亿元;截至2016年年末,天津冠创未经审核的资产净值仅约为4970.26万元。
天津冠创连续亏损上亿元,净资产不足5000万元,国美仍豪掷7.2亿元要拿下天津冠创主要还是觊觎支付牌照。国美金融科技2017年年报显示,截至该报告期末,信达保理已将总贷款金额的80%,即5.76亿元,支付给博盛汇丰,剩余1.44亿元将在中国人民银行或其关联机构批准、完成该笔交易和变更登记后支付。
据过往年报信息,国美金融科技对天津冠创的收购展现出极大耐心,将其视为新业务的推动力,并未在2019年和2020年对这笔5.76亿元的预付款进行减值。
不过从2021年起,国美金融科技开始对这笔大额预付款进行减值,该年度便减值1.57亿元。国美金融科技表示,由于中国人民银行的批文为关键完成条件,尽管收购事项完成在商业角度上仅是时间问题,申请程序暂停可能是减值的迹象。国美金融科技强调,鉴于收购事项的战略价值,该公司管理层将继续寻求中国人民银行批准收购事项,并尽力在2022年内完成。
2022年年报显示,国美金融科技不仅未能在2022年完成收购天津冠创,反而对上述预付款进一步减值,年度减值额度为0.51亿元。截至2022年年末,5.76亿元的预付款已有2.08亿元计入减值损失。
国美金融科技就此解释称,考虑到审批程序暂停及整体宏观环境,该公司正在考虑是否终止转让协议,若收购事项无法在2023年底前完成,将透过博盛汇丰通知卖方终止交易。而截至2023年9月22日,国美金融科技发布的2023年中期报告显示,该项收购仍未完成。
国美金融科技的核心业务包括商业保理、融资租赁、个人财产典当贷款、房地产抵押贷款以及中国香港地区贷款等业务。2021年、2022年及2023年上半年,国美金融科技分别亏损1.28亿元、563.8万元及222.9万元。截至2023年6月底,国美金融科技仅有员工20名。
本文来自微信公众号“时代周报”(ID:timeweekly),作者:曹萌,36氪经授权发布。















