挥别懂车帝们,华为要做中国的特斯拉?
近日,“华为与懂车帝、汽车之家等汽车门户平台停止合作”的消息一经披露便炸了锅,随之引发大量讨论与猜测。
首先让人们联想到的便是上个月懂车帝冬测里,双方疑似结下的梁子。
在2023懂车帝冬测中,问界M7增程版以31.6%的续航达成率排名倒数第一,余承东对此表示,“坑人的测试”,“科学与严谨才是应该遵循的基本规则。”懂车帝则在随后表示,不存在区别对待。
双方各说各的似乎并没有让这次矛盾走向一个圆满的消解,但倘若因为一场冬测风波便把几大汽车门户网站的渠道切断,又显得有些意气用事。
面对或将越来越多的猜测与解读,华为相关人员在1月3日向媒体表示,由于鸿蒙智行与部分平台会员门店业务原合作协议到期,在新的商务洽谈达成一致前暂缓会员门店业务合作,其他合作业务仍正常进行。
虽说以华为的口径,仅仅是停下了与部分平台的会员门店这个单一业务,着实听起来事儿不大,但一方面,此次华为停掉的懂车帝、汽车之家、易车网,都可谓是赛道内Top级的汽车门户网站。
另一方面,对于头部门户网站来说,会员门店这条单一业务的含金量之大,一直以来都是各大车企经销商习以为常的必氪项目。
所以这件事情在谈擎说AI看来,其实可以凝聚成一个核心问题来回答,即华为为何要尝试打破行业惯例,“抛弃”汽车门户网站?
门户网站,不再一家独大
“会员门店”这条业务具体是什么?以问界为例,我们当前在懂车帝、汽车之家来搜索其相关车型,经销商信息已经无法查找。看似仅是一小环,但其实相当于斩断了相关经销商从懂车帝等汽车门户网站的直接获客渠道。
郑州某一线豪华品牌4S店总经理谭峰(化名)向谈擎说AI表示,目前自己店内的获客渠道主要有几条,一是walk-in(非预约到访),二是官网、公众号等品牌自有渠道,三是汽车之家等三方渠道,四是短视频平台、直播等新兴渠道线上引流。
至于汽车之家等三方渠道的客户转化占比如何,谭峰进一步向我们表示,这是一条核心的大渠道,虽然对高知名度的品牌来说,本身自带流量,在三方平台的投入产出比不能说是奇效,但不投肯定还是亏的。
所以看起来轻描淡写的一步棋,似乎可以理解为华为向传统汽车经销商获客渠道发起挑战所打响的第一枪。
对于华为此次的举措,作为一名资深业内人士,谭峰认为,核心原因在于“新的商务洽谈达成一致前”这个关键点。
对此谭峰表示,“这几年在第三方的汽车大平台投放有两个问题,一是投入在不断上涨,比如我们长期在XX合作,这两年一直都在涨,二是投入涨了,产出效果不跟着涨,性价比越来越低。”
“比如我们在XX一直买的是一个标准包,先不提转化,毕竟这个不能全靠平台,但最起码之前到店都还不错,现在是一个(客户)线索几家4S店同时拉扯,这给我们或者客户的体验都不会太好。”
为何会如此?在谈擎说AI看来,答案也许就在于谭峰所言的第四条渠道,即三方渠道的多元化,正在对传统汽车门户网站独当一面的引流含金量发起挑战。
一方面,得益于流媒体崛起,近年越来越多汽车媒体、车评人等KOL资源从各大平台横空出世,这无疑会切走一部分传统门户平台的蛋糕。
另一方面,越来越多的渠道新形制,新资源正在为车企渠道造就精细化价值,进而不单单局限在可以为品牌所用,经销商们同样可以在此找到独属于自己的新机会。
比如曾经选购车,大家基本绕不开品牌官网或是汽车门户网站这两条途径,但今天诸如抖音、小红书等流量平台,正在用户选择下一步步强化自身从信息到工具的属性,成为经销商们新的优质流量洼地。
所以如果说曾经汽车门户网站是经销商们通过第三方引流绕不开的一间“收费站”,那么今天,条条大路通罗马似乎正在成为现实。
品牌自建渠道的契机
除了第三方渠道多元化造就的条条大路通罗马,越来越多的新品牌似乎也已经盯上了自己修路的可能性。
曾经的传统汽车赛道格局稳固,每个品牌内涵是什么,核心竞争力是什么基本都已经固化,比如BBA和两田,德系车和法系车,稍微了解点车基本都能说出个大概差异,普遍的社会面认知,造就了一种“人找车”的驱动模式。
其实很好理解,就比如我们每天的食蔬粮杂,日用百货,其实都是非常固化的,这也就必然把我们导向了一个像是超市,大卖场这样的选购枢纽,诸如此类的逻辑还有很多,比如汽车维修店,4S店都会扎堆开在一起。
这一模式之下,枢纽式渠道的重要性就显而易见,而汽车门户网站的天然属性恰好就成了担任这一枢纽的不二人选。
但随着如今越来越多的新玩家出现,选择逻辑便会出现颠倒,毕竟没有多少人会为一个陌生品牌产生天然的固化认知,新玩家想要颠覆传统汽车市场,便需要从一种“车找人”的姿态出发,此时单点发力的主动意义就大于枢纽的被动。
这一点同样不难理解,毕竟我们鲜少看到一个白板汽车品牌,单纯借力门户平台走向繁荣。
在谈擎说AI看来,门户平台本质上是在品牌进入营销的治理周期后,一个相对稳定的获客引流渠道,营销引流的长期价值,本质还是要靠品牌自身从定位到认知再到治理,一步步稳扎稳打。
问界们亦是如此,门户平台可以给到其多一个稳定性价值,但从借力华为造车,到代表华为造车,这一质变则须通过其步步自建才得以实现。
在谈擎说AI看来,新能源为市场带来的新鲜血液,看似会给人畜无害的汽车门户网站创收,但实则可能会革了后者的命。
这一猜测的核心原因在于,无论今时往日,一个白手起家的品牌,从定位到认知再到治理,路径基本都是相似的,但手段已然不可同日而语。
从特斯拉到蔚小理,再到埃安、深蓝、问界、仰望,一个同传统油车时代鲜明的差异在于,大家在面对“自建”的议题时,积极性可谓空前。
这样的新思维转变,一方面,很大程度上削弱了三方渠道,尤其是枢纽平台的工具价值,比如曾经购车绕不开的比价,汽车门户平台是黄金入口,但今天高度透明的定价让其意义逐渐乏味。
另一方面,行业整体换挡,无论传统还是新兴品牌,类似的思维模式同样会导向经销商层面。
就比如今天在抖音、小红书等平台上,除了大量汽车品牌和产品层面的信息和工具性内容,越来越多地方4S店账号也正在出现,从短视频到直播,内容五花八门,但无疑让我们看到了经销商们跟随行业,对于自建渠道做出的不断尝试。
“我们店当前自建渠道(获客)占比还很小,毕竟早期阶段大家也都是五花八门在试错,常规的短视频,直播的,甚至还有拍短剧的,但身边已经做得很好的同行的确是有,而且投入完全可控,丰俭由人。”谭峰说。
一边是三方投放越来越多的可选项,一边是自建思维嵌入新世代品牌的基因之中,也许正是在这些时代变革里,懂车帝们的单一渠道价值正在被不断稀释,以至于合作价格水涨船高,服务体验却与之愈行愈远,步入恶性循环。
“问界时刻”下,华为要摸着特斯拉过河?
如果说前两段我们阐述的是天时和地利,那么为何是华为,而非北汽,而非小康打响了第一枪?这离不开“问界时刻”所成就的人和。
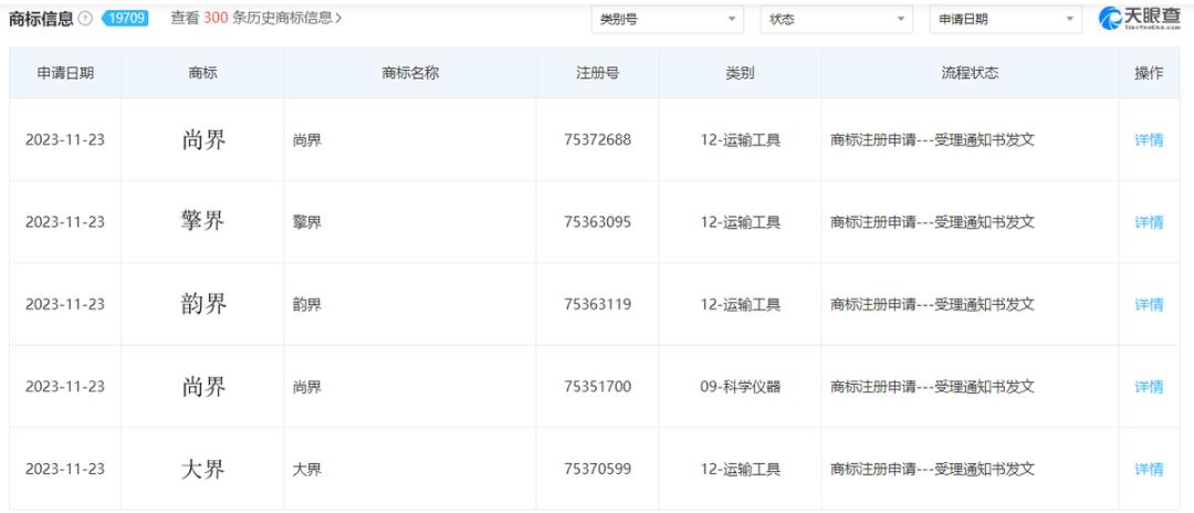
华为“造车”的成功,自智选车模式的问界以来我们有目共睹,但其野心显然不止步于此,天眼查APP显示,今年下半年华为已经密集申请注册了“尚界”、“擎界”、“大界”等一系列界字辈儿商标。
气势汹汹之下,其实已经有人拿华为与零广告的特斯拉对比,也有人发问,华为是要跟随特斯拉的零广告模式吗?但我们不妨换个问法,即特斯拉鼎盛之时所具备的前提,问界今天占几样?
首先就是广告+渠道。
不妨看特斯拉,不投广告并不代表特斯拉就没有自身的广告和渠道资源,其核心其实还是自建的玩法,而非把所有的希望都寄托于广告团队或者找第三方渠道平台。
广告这一点无需过多赘述,“宇宙顶流”马大佬自身就是广告本告,是再牛的团队也鲜能做出的个例,不仅拥趸云集,且自身极为擅长营销。
渠道方面,比如收购推特(非市场投放费用,而是计入到了投资板块),本质上也是买断自建的思维,而非类似于租赁拎包入住的常规投放。
若用问界来类比,两家某种程度上存在相似性,都有个灵魂人物,也都是一时间里的现象级品牌。
一方面可以依托于自身营销体系的鸿蒙智行,另一方面,就像其背后自带流量的捧哏余承东一句遥遥领先,多少也有些马大佬推特治司的味道了,这套组合拳的势能其实也不逊色。
从结果来看,就比如据有文章显示,一位鸿蒙智行广州销售人员曾表示,他所在的门店中,靠线上线索来买车的人不到一成,目前合作暂缓的影响不大。
其次,除了广告与渠道资源之外,汽车作为重决策周期商品,本身就附带一定的“面子”成分,所以传播看似是必不可少的一环,但本质还是为了传播手段背后的赋能价值。
同样以特斯拉为例,其虽然不主动做第三方传播,却总会有大批量媒体和舆论愿意“自来水”。
这背后产品自然是一方面要素,还有很重要的一点在于,特斯拉不仅是市值甩其它车企几条街的电动汽车行业先驱,马大佬造车的同时还造火箭,这样的背书价值无疑是行业内普遍稀缺的。
在这一点上,华为对于鸿蒙智行的背书力也同样是显而易见的。
一层层的势能累计之下,毫无疑问,特斯拉占到了电动汽车行业的先机优势,也因此,无论是媒体还是舆论,在讨论一个行业时,往往很难绕过开拓者这个角色,这也就给到了特斯拉完美的首发效应。
具体来说,品牌想让媒体报道,哪怕是批评性报道,也得具备两个点:要么有实打实的预算,要么有流量价值。无论特斯拉还是问界,背后有的都是现象级能力,你有流量,能让内容曝光最大化,为媒体带来价值,那么自然就会有媒体愿意主动当自来水。
所以总的来看,对于华为后续在汽车生意上零广告模式的猜测,客观存在一定的契机与自身实力支撑,但过于琢磨是否零广告本身的意义其实不大。
就像随着比亚迪销量正式在国内超越特斯拉,越来越多市场也在被前赴后继的新势力们蚕食,即便“嘴硬”如马斯克,特斯拉零广告的口径似乎也在今天开始松动了。
产品也许可以离开广告,但必然离不开传播,离开广告的核心底气,在于自建渠道的优越性,在于得势,而未知,却永远是未来的主旋律。
所以在谈擎说AI看来,相较于是否零广告,华为此次举措其实释放出了一个更加重要的信号,即汽车行业营销引流渠道的变迁,正在由量起质。
从华为打响的第一枪之后,也许很快,更加精细化的营销、引流模式便会在行业内成为主流,而这无疑将是对传统汽车门户网站们提出的一次大考。
本文来自微信公众号“谈擎说AI”(ID:Mr-dushe),作者:郑开车,36氪经授权发布。















