继多次触碰食安红线后,“水中贵族”景田又成被执行人?
在新茶饮、气泡水、奶茶等多种饮品品牌抢占市场的同时,瓶装水企业也在悄悄发展。
据中研产业研究院数据显示,我国瓶装水市场规模从2014年的1237亿元增长至2019年的1999亿元,2021年已突破2000亿元。未来几年,瓶装水市场规模仍将以8%-9%的速度增长,2025年有望突破3000亿元大关。
不过,虽然瓶装水市场前景广阔,但占据市场绝大部分份额的依旧是农夫山泉、怡宝、康师傅、景田、娃哈哈等龙头企业。
随着消费者对包装水水质要求越来越高,各大品牌先后在水源地选择上发力。通过查询农夫山泉、康师傅、今麦郎、怡宝、景田等品牌宣传文案可以看到,其水源地大都来自长白山、昆仑山、青藏高原等。
然而,有“水中贵族”之称的知名饮用水品牌景田,却在“健康安全”这道红线上跌了个跟头。
01 景田饮用纯净水被检出致病菌,“水中贵族”品质堪忧
官网显示,景田公司成立于1992年,是一家专注于瓶装、桶装饮用水生产和销售的大型企业,旗下设有“景田”、“百岁山”、“奔来旺”三个品牌。
根据评级机构Chnbrand发布的品牌排名和分析报告,2023年我国瓶装水行业前三品牌分别为农夫山泉、百岁山和娃哈哈。与2022年相比,百岁山的排名向前走了一步。
与此同时,景田及旗下其他品牌瓶装水也因含偏硅酸、钙、钾、镁等天然矿物质元素,成为不少消费者的选择。然而,近两年景田不止一次被检测出产品中含有其他成分。
中国食品报报道显示,2022年初,湖北省卫健委向市场监管局发出部分市售包装饮用水中存在铜绿假单细胞菌污染安全隐患的函中,标称“景田”的桶装水检出铜绿假单胞菌污染。
文件显示,上述被检出铜绿假单胞菌污染的桶装饮用水,标称系由武汉龙井山泉饮品有限公司生产,批次为20210812,采样点位于仙桃市沙嘴社区卫生服务中心食堂。
公开资料显示,铜绿假单胞菌(Pseudomonas aeruginosa)原称绿脓杆菌,是革兰氏阴性无芽孢杆菌,为专性需氧菌,生长温度范围25-42℃,多具有分解蛋白质、碳水化合物和脂肪的能力。该菌广泛分布于自然界(如水、土壤、空气)以及正常人体内(皮肤、呼吸道、肠道等),对消毒剂、紫外线等具有较强的抵抗力。而该菌存在的重要条件是潮湿的环境,是一种重要的水源性致病菌。因此,被污染的饮用水中可能会检测到该菌的存在。如果消费者不小心饮用,则很有可能会危害身体健康。
但根据《食品安全国家标准饮用天然矿泉水》等相关规定,铜绿假单胞菌限量为“n=5,c=0,m=0(CFU/250 mL)”。简单来说就是市面上销售的饮用水均不得检出铜绿假单胞菌,如果被检出该菌株则为不合格产品。
然而,景田并未引以为戒。根据中国质量新闻网报道,今年3月初,厦门市市场监督管理局网站发布厦门市同安区市场监督管理局的一则关于抽检不合格“饮用纯净水”核查处置情况公示,让景田再次陷入食安问题之中。
公示显示, 由厦门市同安区山之水桶装水店经营的景田饮用纯净水,因检出铜绿假单胞菌而抽检不合格,而这批饮用水的制造商为景田(福建)食品饮料有限公司)。
在IPG中国区首席经济学家柏文喜看来,景田饮用水抽检不合格事故,可能与相关的生产批次有关,对其品牌的负面影响是不言而喻的。而出现屡次抽检不合格,表明该企业的生产管理与食品安全管理可能存在一定的缺失,需要从生产工艺与食品安全的角度进行查缺补漏和认真整改,并查实责任和落实到关键节点,以防止此类事故再次发生,做好食品安全工作。
但是,有关景田的投诉依旧层出不穷。通过黑猫投诉可以看到,9月初,有消费者表示,“2023年9月1日在天猫超市购买的百岁山水,9月2日收到快递后打开饮用,喝前本着相信百岁山大品牌的态度没有检查,喝到最后发现喝出异物,喝完恶心想吐,胸口不适。”值得注意的是,截至10月12日,该投诉进度显示依然为“处理中”。
此外,还有消费者表示,在天猫超市购买一箱百岁山,倒出饮用发现一个石头大小的硬物,工厂人员不予解决,扭曲事实,污蔑本人。
事实上,无论是生产环节还是上游销售商的原因,景田饮用矿泉水被检出致病菌、产品内有异物等已是毋庸置疑的事实。祸不单行,在产品频生事端的同时,景田又因经济补偿金纠纷屡次成为被执行人。
02 因经济补偿金纠纷,景田屡次成为被执行人
据了解,景田的领路人是有着“中国包装水之父”之称的周敬良。他在成立景田之前,曾在34岁出任深圳怡宝企业饮料公司(现华润怡宝(深圳)饮料公司)总经理。在其任职期间,怡宝用了5年的时间在国内推出第一瓶纯净水。
1992年,周敬良自立门户,成立了深圳景田实业有限公司。在此之后,农夫山泉、娃哈哈、今麦郎等品牌先后进军瓶装水市场,其中农夫山泉更是凭借朗朗上口的广告语“有点甜”,让无数消费者记忆犹新。
为了在纷繁芜杂的瓶装水市场脱颖而出,周敬良为景田打造了独一无二的IP——“贵族水文化”。彼时,景田旗下以笛卡尔和克里斯汀公主的故事为原型,拍摄了以“水中贵族”为定位的广告片。
然而,这位“贵族”却多次因为经济补偿纠纷成为被执行人。
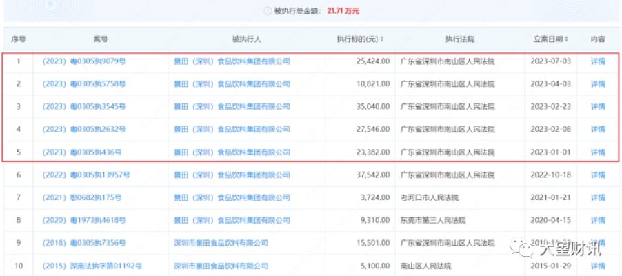
通过企查查可以看到,自2023年开始,景田(深圳)食品饮料集团有限公司新增5条被执行人信息,所属司法案件均与经济补偿纠纷有关。
对于这一情况,IPG中国首席经济学家柏文喜分析认为,这可能存在三方面原因。一是公司管理存在问题,导致员工不满和纠纷。例如,公司可能没有按照国家法律法规的规定给予员工应有的经济补偿,或者没有合理安排员工的福利和待遇。
二是随着社会的发展和员工权益意识的提高,员工对于自己的权益越来越重视,对于公司的要求也越来越高。如果公司不能满足员工的期望和要求,就可能引发纠纷。
三是由于市场竞争激烈和经济压力,一些公司面临着资金短缺和经营困难的情况,导致公司无法支付员工应有的经济补偿,从而引发纠纷。
盘古智库高级研究员江瀚对此也持有类似观点。他认为,景田多次成为被执行人一是法律制度不健全或执行不力。在某些情况下,可能存在法律制度不健全或执行不力的情况,导致劳动者在解除劳动合同时未能获得应有的经济补偿。
二是用人单位不当行为。一些用人单位可能存在不当行为,例如违反劳动法规、违反合同约定等,导致劳动者在解除劳动合同时未能获得应有的经济补偿。
三是劳动者自身问题。也有可能是因为劳动者自身的问题,例如在签订劳动合同时没有明确了解经济补偿的相关条款,或者是在解除劳动合同时未能积极争取自己的权益。
可以肯定的是,在景田多次陷入食安危机、屡次成为被执行人的同时,瓶装水市场的其他品牌正在向景田所处的高端包装水定位进发。
众所周知,景田(560ml/瓶)、百岁山(570ml/瓶)单价为2元、3元,但在最近两年,农夫山泉、怡宝、恒大冰泉、今麦郎等开始向“3元水”挺进。
资料显示,2021年7月,农夫山泉推出了一款定价3元的天然雪山矿泉水。
2022年4月,怡宝推出了饮用天然矿泉水“露”,并在天猫和京东旗舰店上线,售价为12.5元/瓶;2022年5月,恒大冰泉推出了天然偏硅酸型矿泉水“深矿泉”,定价2元/瓶;2022年6月8日,今麦郎凉白开推出了主打高端场景的今麦郎凉白开玻璃瓶装新品“十二时辰”。
今年3月10日,今麦郎又推出高端矿泉水“今矿”从宣传视频中可以看到,此次今麦郎推出的今矿规格570ml、定价3元,这与景田百岁山的规格、单价相同。
虽然中国水市场仍未饱和,但农夫山泉依旧稳坐瓶装水品牌头把交椅,此外,农夫山泉旗下并非只有瓶装水产品,在国民健康意识不断提升的时候,其产品东方树叶、尖叫、水溶C100等也都受到不少消费者喜爱。在此背景下,景田又将如何凭借瓶装水突出重围,我们拭目以待。
本文来自微信公众号“大望财讯”(ID:DW-news),作者:大望财讯,36氪经授权发布。















