首款M3 Mac十月来,3nm工艺,性能炸裂,iPhone 15系列最新爆料汇总
让我们来看看苹果下半年又整了些什么新活吧:M3 Mac, iphone15, 以及未来可能推出的「卷面屏」手机。
刚刚在6月份发布了Vision Pro的苹果,又准备了一些新东西,要给各位以及各位的钱包来一点小小的「苹果震撼」。
全新配备M3芯片的产品线,新的A17 iPhone 15,甚至还有未来可能会推出的“可卷曲屏幕”手机。
01 首批苹果M3芯片产品可能会在10月推出
马克·古尔曼(Mark Gurman)在最新文章中表示,苹果正准备在十月份推出首款带有M3的Mac系列产品。
在苹果往年发售新产品的流程中,会提前使用第三方应用程序进行测试,以确保与其软件生态系统的兼容性。
据此测试信息,苹果可能发售的型号包括:iMac,13英寸MacBook Air,以及MacBook Pro。
对于即将发售的M3芯片,通过采用台积电3nm制造工艺,将会获得更高的性能效率以及更高的晶体管密度。
在测试版中,M3芯片具有12个CPU核心,18个GPU核心以及36 GB内存。
对比M芯片系列,M3在CPU、GPU核心数量以及内存方面都得到进一步地提升和扩充。
如果测试中的芯片是基础版的M3 Pro,这意味着于M2 Pro相比,核心数量的增加将类似于从M1 Pro到M2 Pro的飞跃。
它将有两个更节能的CPU核心和两个GPU核心,同时在高端配置上的内存量也增加了4GB。
如果M3 Max获得与M2 Max相似的增益(与M1 Max相比),那么Apple的下一代高端MacBook Pro芯片可以配备多达14个CPU核心和超过40个GPU核心。
进一步推测,这意味着M3 Ultra芯片的最高配置为28个CPU核心,并拥有80多个GPU核心,高于M1 Ultra的64个核心。
苹果能够在芯片上安装这么多核心,靠的是台积电的3 nm级的制造工艺。苹果将通过生产M3转向该工艺,这是对M2时代采用的5 nm工艺的巨大改进。
这种方法提供了更高晶体管密度,允许设计人员可以在已经很小的处理器中安装更多的核心。
而更高的芯片利用效率将会带来更好的性能和更长久的电池寿命。
3nm制程可能把性能和价格都带到全新的高度
根据外媒的报道,目前台积电 3nm 生产的良品率据称为55%。对于会采用3nm制程的A17和M3来说,意味着苹果在初期需要用较高的成本来采购。
这必然限制了即将推出的新款iPhone和Mac的产量,同时也意味着较高的首发价格。
根据台积电预测,3nm制程的良品率一个季度可能会提高5%。
一般情况下,良品率达到70%以后,苹果才能将采购价恢复到标准定价。
按照这个数据推算,如果今年10月份推出基于M3的Mac,可能要到明年产能和采购成本才能恢复到正常状态。
02 不见不散的iPhone新产品线
除了M3芯片外同样属于3nm制程的A17芯片很有可能会搭载在和9月份推出的iPhone 15系列与消费者见面。
和iPhone14 类似,分析师预测iPhone15同样会有普通版,Pro版本,Plus版本和Pro Max版本。
入门版会使用上代的A16芯片,3个升级版本会使用A17芯片。
而除了Soc的升级,全系列的摄像头也会升级为4800万像素的传感器。
而根据网友爆料,在最高端的Pro Max版本,可能会有近些年少有全面升级。
包括1.44毫米薄的边框,最新的潜望式镜头,USB-Type C接口,可定制化的动作按钮,以及稍微圆润的边框。
而一向被诟病的电池续航问题,在这代产品中也会有很大改进。
据外媒报道,新一代的iPhone会采用一种受到电动车电池技术而启发的“堆叠电池设计”,大大改进电池的续航问题。
据消息人士爆料,iPhone 15的电池容量如下:
iPhone 15:3877mAh
iPhone 15 Plus:4912mAh
iPhone 15 Pro:3650mAh
iPhone 15 Pro Max:4852mAh
作为对比, iPhone 14系列电池容量如下:
iPhone 14:3279mAh
iPhone 14 Plus :4325mAh
iPhone 14 Pro:3200mAh
iPhone 14 Pro Max:4323mAh
几乎每一个型号的电池容量都有15%左右的提升。再考虑到3nm工艺的Soc将进一步降低功耗(可能达到30%左右),可以预期新一代的iPhone的续航将会有明显提升。
03 下一台苹果手机,可以卷起来
苹果最近的一项专利表明,你的下一部 iPhone 可能能够卷成圆柱体。
当其他手机品牌厂家在折叠手机屏幕的制造工艺上不约而同地选择用 MIM 转轴配合柔性可折叠屏幕来实现手机折叠功能,苹果却闷不做声地换了新赛道。
都别玩折叠了,能卷的屏幕才是好屏幕!
等等?!是我想的那个「卷」吗?
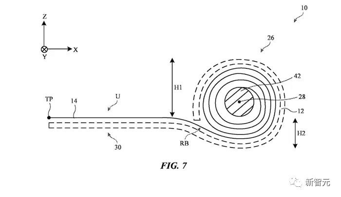
苹果公司于7月11日提交并在13日发布了一种可卷曲电子显示屏的专利。
根据公布的专利摘要,这项专利的电子设备配备了一种可卷曲的显示器。
该显示器主要由两部分组成:一是显示面板,该面板具有产生图像的像素阵列;二是透明保护层,该保护层与像素阵列重叠。
这里提到的“透明保护层”包含玻璃层,这种玻璃层在可「卷曲部分」中可以局部变薄,以便于显示器的卷曲。
另外,当显示器被卷起或弯曲时,可以向玻璃层面向外部的表面施加压缩应力,这有助于防止显示器受损。
该设计依赖于薄玻璃和在屏幕上施加压缩压力的组件,以确保显示屏在滚动时不会损坏。
虽然该专利适用于通用电子显示器,但苹果在申请中特别指出,该设计可用于手机。
虽然小编也曾疑惑过,为啥在可折叠手机市场上没有看到库克的影子。但显然,这次苹果专利的发布,代表库克对可折叠手机有一套自己的理解。
卷卷就能放进口袋的手机与像书本一样需要开合的手机,想必消费者会对这两种产品有着不同的看法。
卷曲屏幕带来的想象不止于此,未来的电子产品或许会像魔法卷轴一样堆放在专门的空间。
赛博魔法,指日可待!
参考资料:
https://9to5mac.com/2023/07/16/m3-apple-silicon-mac-october/
本文来自微信公众号“新智元”(ID:AI_era),作者:新智元,36氪经授权发布。















