这家成都游戏公司做起了抗衰老饮料,下一个元气森林?
tap4fun筹划进军饮料界至少有一年时间了。
许多从业者对这家成都公司的印象,还停留在「早年中国本土游戏公司出海的成功典范」。它曾于2012~2014年连续入选App Annie全球52家顶级手游厂商,那个时候腾讯、网易、莉莉丝等出海大佬尚未成为榜单常客。2017年IPO遇挫后,tap4fun沉寂了蛮久,直到2021年1月出现在SensorTower中国手游发行商收入榜TOP30,才重回大众视野。
近两年tap4fun在SLG领域发挥稳定,但较之往年更加低产,也有了「不务正业」的迹象。例如试图通过制作教育游戏APP布局早教市场,还投资了新能源科技,如今又在老板杨祥吉的带领下迈入了饮料行业,旗下经营有品牌名为「优达 (UDA) 」的功能性饮料,官网介绍其主要功效为抗衰老。
像元气森林,又像脑白金
「游戏公司+饮料」的标签,很容易让人联想起智明星通的创始人唐彬森,以及他离开游戏行业后创立的元气森林如何成为饮料界黑马的故事。早期的元气森林从包装到文字,都曾让消费者误以为是日本品牌,不过总归是在正常饮料的范畴。
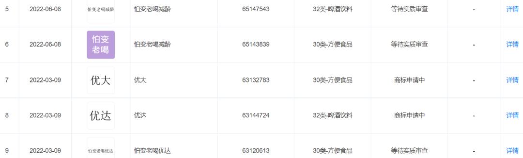
tap4fun低调推进的优达 (UDA) 则有着更大的噱头——饮料中含有抗衰老功效的补剂成分,帮助人们通过日常饮品达到延长健康寿命的效果。tap4fun还为其申请注册了「怕变老喝优达」等商标。
官方信息显示,优达品牌出自一家同名的英国饮品公司 (UDA) ,研发团队拥有来自牛津大学、哈佛大学的科学家。其创始人兼CEO是牛津大学的生物医学科学家Avi Roy,联合创始人就是杨祥吉。
比起前同行,杨祥吉的野心似乎也不小。tap4fun相关招聘信息显示,优达将面向英国、美国和中国等全球大市场发售,长期目标是单品年收入超过全球「红牛」总量。红牛在2021年总计卖出了98亿罐,集团销售额达到78亿欧元(约合人民币596亿元)。
国内市场的布局主要集中在2022年。这一年tap4fun陆续发布了市场营销、供应链管理等岗位,招聘要求中提到必须拥有饮料、快消品公司工作经验,英语口语流利、有海外留学经验为加分项。
2022年7月,tap4fun旗下100%控股的子公司成都黑夜之火科技有限公司 (成立于2021年9月) 变更了经营范围,新增食品销售、保健食品 (预包装) 销售等,之后获得了食品经营许可证。该子公司旗下还有一个网站备案「www.uda.cn」。
同样在7月,优达入驻微博,创建官方账号@UDA优达,粉丝列表出现了杨祥吉的个人号。11月14日优达连续发布两条微博,介绍即将推出的产品,并邀请网友提供意见。
一款叫做uda Longevity Drink的果汁饮料正在英国预售。官网称这是世界上第一款长寿饮料 (the world's first longevity-focused drink) ,内含6种抗衰老成分,包括槲皮素 (据称是抗炎和抗氧化剂) 、南非醉茄 (据称可缓解压力和疲劳) 、α-酮戊二酸 (据称可逆转生物衰老) 和维生素D等。官网还宣称,订购一年的优达饮料能节省约1920英镑 (约合人民币1.6万元) 的美容费用。
另外还有一款速溶咖啡产品 (uda Coffee) 也号称附带抗衰老效果,每份产品的份量够喝一个月,售价90英镑 (约合人民币742元) ,价格为普通咖啡的三倍。CEO Avi Roy表示,研究人员结合了七种有助于实现长寿的成分,来增强人体新陈代谢和免疫力,提供丰富的抗氧化剂。
从上述产品的宣传来看,优达的定位更类似于背靠巨人网络的脑白金。在营销比较单调的年代,后者曾凭借「今年过节不收礼,收礼只收脑白金」的洗脑式广告语走进千家万户,2008年销售额突破100亿元。
如今快消品市场的竞争日益激烈,各大商家花样百出,也才杀出一个元气森林。tap4fun想以「抗衰老」噱头攻下一城,只怕难度不小。
游戏走出低谷,重心放在开拓
饮料之外,tap4fun投资过新能源行业,例如为电动车提供充电服务的「禧充」项目;还涉足过早教市场,彼时成立了北京阿古科技有限公司 (旗下有阿古教育团队) ,招聘儿童游戏策划、美术等岗位,目标是让全球1亿儿热爱和使用他们的教育产品。无奈都没有搅起什么水花。
时至今日tap4fun擅长的领域依旧是SLG游戏。好在今天的它早已走出低谷,在SensorTower中国手游发行商收入榜TOP30上保持了两年之久。
2021年~2022年的tap4fun要比往年低产许多,重心放在了开拓新市场。
当前成绩最好的产品是战争题材SLG《Kiss of War (胜利之吻) 》。这款游戏迭代于《战地风暴》,耗时三年研发,主角为清一色的美女指挥官。本作于2019年下半年在欧美上线,2020年8月登陆中国大陆。调优过程中逐渐摸到了窍门,2020年中开始大规模投放广告,素材多为展示指挥官性感火辣的身材和装扮,而后还与女优进行过联动,针对30岁以上的男性目标用户群体来说画面尤为抢眼。
《Kiss of War》广告素材
《Kiss of War》就此迎来了一波收入的高速增长,2021年1月为tap4fun贡献约56%的收入,并助力后者进入SensorTower中国手游发行商收入榜TOP30。2021年5月,tap4fun在中东、非洲等国家推出了《Kiss of War》阿拉伯语版,排名最好时到过卡塔尔、沙特阿拉伯和伊拉克等9个市场的iOS游戏畅销榜TOP10。
去年游戏新知也经常刷到《胜利之吻》的广告素材,核心还是卖肉,估计这类素材仍有不错的吸量效果。游戏目前在欧美、中东市场表现还算可以,位居瑞士、西班牙、沙特阿拉伯、阿联酋等17个市场的畅销榜TOP100。截至今日,国服官网的玩家数量也累计超过5000万。
《Kingdom Guard: Tower Defense (守卫与远征) 》 (以下简称Kingdom Guard) 的发挥也比较稳定,目前在30个市场的畅销榜TOP100。游戏于2021年6月在海外上线,在SLG基础上同时融合了合成和塔防玩法。去年一位业内人士透露,《Kingdom Guard》为tap4fun北京分部研发,数据在稳步提升,属于重休闲塔防、轻SLG产品。
2022年上半年游戏延续在欧美市场的良好表现,一度使得tap4fun收入环比增长10%。下半年又陆续登陆了日本、俄罗斯市场。在日本市场最好成绩到过iOS下载榜第一名和畅销榜第64名;7月进行了日服版本更新,data.ai数据显示,其为tap4fun在日本市场营收最高的游戏。俄罗斯市场则反响平平。
另外还有一款SLG《Age of Apes (猿族时代) 》出口转内销,在去年8月登陆中国大陆。在tap4fun的低谷期,这款采用美式卡通猿猴题材的游戏曾被寄予厚望,为此投入了大量美术资源。可惜当时的「猿人宇宙」没能引发广大SLG用户的共鸣,不像今天蚂蚁题材SLG那么火。进入国内市场也没有什么亮眼的表现,最高排名到过iOS下载榜第四名,畅销榜起初还徘徊在100~200名之间,如今已掉到500名之外。
值得一提的是,tap4fun还在Google Play上线了四款手游,疑为测试阶段,分别是《Brutal Horde:Hide 'N seek (曾用名:Tower of Dragon) 》《Tiny War》《King of King's》和《Age of Explorers》。
《Brutal Horde:Hide 'N seek》是一款具备合成和塔防要素的SLG,玩法类似《Kingdom Guard》,但塔防权重比后者少。游戏目前主要在越南、新加坡等东南亚国家测试。
《Tiny War》也是往轻松休闲的SLG方向尝试。游戏分别在英国、菲律宾、中国香港等市场测试,玩法结合了放置、合成等要素,体验下来比较讲究休闲的爽快感。
《King of King's》和《Age of Explorers》已从Google Play下架。
前者是一款末世题材SLG,2021年7月在海外进行了一轮测试。结合官方介绍和实机画面来看,游戏既保留了地缘玩法的走格子,又融入了RTS的实时战斗内容,在玩法上有融合创新的想法。游戏研发方是tap4fun投资的桑巴网络。该公司成立于2020年9月,创始人是前巨人网络副总裁丁国强。tap4fun占股40%,为第二大股东,不过桑巴网络的官方招聘页面显示其为tap4fun的分公司。
后者疑似一款带有MMO元素的SLG,从游戏截图来看,是森林题材冒险故事。
相比之下,还是老产品的战斗力强悍。《Brutal Age (野蛮时代) 》《Invasion (战地风暴) 》两款颇有年代感的SLG,仍能为tap4fun贡献不错的营收。据SensorTower预估年收入均超过千万美元。前者发布于2016年,目前位居阿联酋、文莱、沙特阿拉伯等12个市场的iOS畅销榜TOP100。后者最早于2014年在海外上线,当年也是欧美畅销榜前列的常客,如今仍有7个市场保持着畅销榜TOP100的成绩。
总体看来,游戏还是要比tap4fun的饮料事业靠谱许多。但话说回来,这两年tap4fun除了开拓新市场,几乎没有正式推出一款新手游。此前脉脉爆料tap4fun因新项目不及预期进行了裁员。如果继续这种偏保守的攻略,tap4fun新的一年还能否保有优势?
本文来自微信公众号 “游戏新知”(ID:youxixinzhi),作者:落日飞车,36氪经授权发布。















