戴森想要做耳机,里面放个空气净化器
编者按:本文来自微信公众号“爱范儿”(ID:ifanr),作者 吴志奇,36氪经授权发布。
戴在头上的空气净化器——第一次觉得戴森能有一个产品和它的名字如此契合。
这是戴森最新公布的专利:一个内置空气净化器的耳机。
室内的空气净化器我们已经不足为奇了,但是到了室外,为了避免雾霾,避免空气中各种污染物,我们似乎只能选择戴起来并不舒服的口罩。
所以戴森想要提供一个便捷的可穿戴空气净化器的方案。
早在 2018 年 7 月,这项专利相关文件就已经提交给知识产权局了,但直到现在,这款「空气净化耳机」的细节才公布开来。
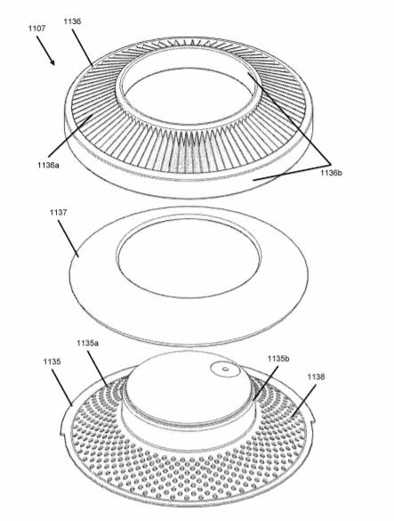
从专利图的外观来看,它就是普通的头戴耳机。
但它的耳罩内加入了戴森的空气净化技术,每个耳罩都有一个与 35-40mm 扇形螺旋桨相连的马达。
内置空气净化系统的电动机,能以 12,000 rpm 的转速旋转,每秒可吸入 1.4 升空气,并进入内部的过滤器,过滤灰尘和细菌等微粒,每秒产生 2.4 升纯净空气。
经过净化的空气,将通过耳罩穿孔流向佩戴者的嘴鼻中央让人们呼吸。
特别的是,这个耳机还有第二个束带,将它向下折叠放置到嘴前,能保证净化后的空气最大化吹到佩戴者脸上。
这已经足够单人呼吸的空气量需求。如果办公室的人都戴着这种耳机,那么整个办公室就会变成一块清洁的空间。
专利指出,与现有的可穿戴空气净化器相比,该发明主要提供了改进的空气净化和空气输送性能。
尽管专利没有具体说明过滤器能够阻挡哪些颗粒,但戴森现有的空气净化器已经能捕获 99.97%的过敏原和污染物,小至 0.3 微米。通常来说,花粉颗粒为 10 微米甚至更大,细菌约为 1 微米。
另外,对比起市面上有的少量可穿戴空气净化器,它们往往会用笨拙而突兀的外设来遮挡嘴鼻,戴着上街看起来可能有点尴尬。
今年的 CES 上,Ao Air 就首次推出了一款价格 350 美元的头戴式设备 Atmos Faceware,该公司声称它比常规的空气过滤器面罩能提供更好的颗粒物防护,但它看起来还是有点过于夸张,仿佛刚从摩托头盔上掰下来挂在脸上。
Atmos Faceware. 图片来自:Glbnews
所以戴森希望创造一种兼具功能和外观的可穿戴空气净化器,让它「在公众场合佩戴时更容易被接受。」
不过值得注意的问题是,这个产品理论上需要大功率来保持风扇旋转,如果不插电源插座,单独的电池能否保持一直在路上使用?
还有,如果两个风扇要以 12000 rpm 的转速旋转,噪音肯定也是一个不容忽视的问题。
专利里没有提及耳机的电池及相关内容,不过基于之前净化器的经验,消噪对于戴森来说或许没有那么大的困难。专利中也描述了该设备将带有一种反馈式麦克风,可以主动消除噪音。
图片来自:Mashable
如果单从它作为一个耳机的层面来看,它会不会是一款无线耳机,具有蓝牙连接功能,以及耳机可以提供怎样的声音质量,暂时都还不清楚。
不过它作为一项专利,会不会推出也不确定,毕竟戴森不仅善于创新,也善于放弃。
这款耳机从现状看起来确实有点华而不实,但戴森从事可穿戴空气净化器研究也有一两年了,如果真的能合并耳机和空气净化器,实现便捷的户外空气净化,倒也是一个很符合当下的应景产品。
毕竟对于中国来说,空气污染一直是一个严重的问题。
图片来自:彭博社
戴森的落地式空气净化器系列一直很流行,而亚洲的销售额推动了戴森的大部分的收入增长,其中上海在 2017 年曾是戴森净化器销量最高的城市。
加上近年来戴森在亚洲知名度不断上升,戴森首席执行官 Jim Rowan 去年在接受《中国日报》采访时就表示,(中国消费者) 希望拥抱新技术,对于颠覆性产品持相当开放的态度。
所以这款产品如果推出,相信能在中国市场获得相当的关注与青睐。
特别是在空气充满不安定因素的当下,从个人健康的角度出发。















