药品批准文号是啥,可读出哪些信息?
近期,动脉网在查阅药品批准文号的时候发现不少“有趣”的现象,比如化药和中药的注册类别弄反,不同药品共用一个药品批准文号,一个批准文号下面有多个剂型的现象。
深究之下,发现药品批注文号背后还有很多信息。补习下药品批准文号的相关历史,整理了关于药品标准文号的几个点。
药品批准文号是啥?
药品作为一种特殊的商品,管理较为严格。所以法律规定:“生产新药或者已有国家标准的药品,须经国务院药品监督管理部门批准,并在批准文件上规定该药品的专有编号,此编号称为药品批准文号。药品生产企业在取得药品批准文号之后,方可以生产该药品。”
简单理解,药品批注文号就是药品的生产许可,类似于图书音像出版物的“ISBN”或者“ISRN”一样。
这里还有需要注意的是,药品批准文号是会过期的(一般按照药物的种类如新药、改良型、仿制药等有一定的存续期,时间是3年或者5年),过期之后需要“再注册”,批准文号不变。
进口药由于不在国内生产,所以批准文号不是生产必须,但是也需向相关部门报备,获得药品进口许可,也叫批准文号。
药品批准文号都是谁批准的?
上面说的是要向“国务院药品监督管理”部门申请,其实就是国家药监局。不过这里还有一段往事是,国家药监局成立于1998年(原国家经济委员会下属的国家医药管理局,合并卫生部的药政司,再吸收国家中医药管理局的部分机构,成立了国家药监局,2003年再组建成国家食药监局),在国家食药监局成立之前,能够批准药品的有卫生部、各省的卫生厅,标准不一,基本是各自为政,也造成了药品批准文号混乱的问题。
为便于统一管理,从2002年1月1日,药品批准由国家食药监统一受理,也有了统一的编码格式。
命名规则是啥?
根据食药监局(CFDA)发布的《关于做好统一换发批准文号工作的通知》,规范了药品批准文号的格式,并在全国范围内对药品生产企业(进口)生产的药品统一换发药品批准文号。规则如下:
药品批准文号格式:国药准字+1位字母+8位数字,试生产药品批准文号格式:国药试字+1位字母+8位数字。化学药品使用字母“H”,中药使用字母“Z”,通过国家药品监督管理局整顿的保健药品使用字母“B”,生物制品使用字母“S”,体外化学诊断试剂使用字母“T”,药用辅料使用字母“F”,进口分包装药品使用字母“J”。
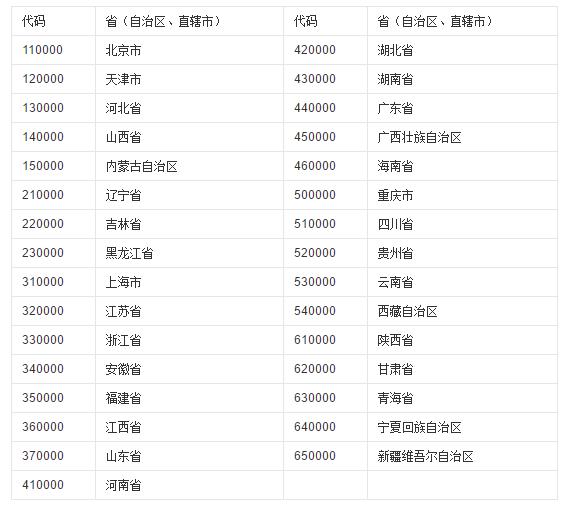
数字第1、2位为原批准文号的来源代码,其中“10”代表原卫生部批准的药品,“19”、“20”代表2002年1月1日以前国家药品监督管理局批准的药品(19代表1998、1999年批准的,20代表2000、2001批准的),其它使用各省行政区划代码前两位的,为原各省级卫生行政部门批准的药品。第3、4位为换发批准文号之年公元年号的后两位数字,但来源于卫生部和国家药品监督管理局的批准文号仍使用原文号年号的后两位数字。
数字第5至8位为顺序号,也有规律可循,辨识点在于第五位数字。新药后面四位为从0001开始,仿制药从30001开始,转让换证从8001开始。也就是说,第五位是0,则是新药;第五位是3,则是仿制药;第五位是8,则是换证。
图一:各地区代码
图二:阿莫西林胶囊注册情况
以阿莫西林胶囊查询页面为例,排序第一的是“国药准字H61022524”。依次可解读为国产药、化学药、原来由陕西省卫生部门批准、在2002年统一换发标准批准文号。
同时也可以看到,药品注册遵循“一证一品”原则,排名二三的药品仅有规格不一样,也需要申请不同的批注文号。
再以“国药准字H20066688”[小儿复方氨基酸注射液(19AA-Ⅰ) ]为例,可以解读出其为国家食药监局批准,批准时间是2006年。在insight药品数据库查询也显示,国家食药监局2005年受理山东齐都药业的该药品申请,2006年批准生产。
进阶知识
以上都是正常现象,那么我们开头提到的异常现象在哪呢?举几个简单的例子,大家就明白了。
比如,同一批准文号下面有两个不同的剂型。
可以看到“国药准字B20020935”同时属于岳阳新华达制药有限公司报批生产的两种剂型(每只10ml/20ml)补肾口服液。
同一批准文号下面有几个厂商同时生产。
可以看到“国药准字H20067133”同时属于哈药集团制药总厂生产的头孢氨苄甲氧苄啶胶囊以及浙江尖峰药业生产的注射用头孢呋辛钠注射剂。不过在今年1月,食药监总局发布《关于注销注射用头孢呋辛钠等147个药品注册批准证明文件的公告》,清理了一批类似的重复以及“僵尸”批文。
其实,药品从研发到上市是一个系统性工程,化学药上市需要十几年的研发时间(从上万种化合物中筛选),耗资数亿,之后还要进行多期临床实验,保证安全有效;相对来说,生物药(以生物提取物为主)提供了较为高效的创新空间,所以生物药给药企带来了价值重塑和弯道超车的机会,药企的原研意愿较此前也大有提升。
我国已上市国产药品约18万种类,进口药品4000多种。在药物注册申报方面,食药监局药品评审中心的数据显示,2016年药审中心完成审评并送总局审批的注册申请(再注册、新药注册等)是12068件,较2015年提升了26%,有效消除了积压。当然,完成审评的还是化学药为主,占到总量的83%。
企业数年的经营就反映在药品批准文号上面,什么种类、哪个部门批准的、什么时间注册及通过的、是化学药还是仿制药、竞争情况怎么样,都可以通过药品批准文号解读出来。
另外值得注意的是,日前最高人民法院通过了相关规定,将药品注册临床数据造假入刑,最高可判处死刑。结合该信息再看药品批准文号,就不会认为其是简单的一串数字了。















