阿北管不好豆瓣?
豆瓣又被整改了。
这一次,国家网信办直接派出工作督导组进驻豆瓣督促整改,原因是豆瓣存在严重网络乱象。
这已经不是豆瓣第一次被整改了,从去年初开始,豆瓣就因各种违规行为被罚款、暂停小组、下架App。整个2021年,豆瓣多次被予以顶格50万元罚款,据一刻商业粗略计算,去年豆瓣一共被罚了1000多万元。
多次处罚之下,不禁让人怀疑,阿北管不好这个“年轻人的精神角落”了吗?
2005年,阿北(本名杨勃)创建了豆瓣,一度为有相同爱好的年轻人提供了极佳的交流场所,书籍、音乐、电影等爱好者们在豆瓣上都十分活跃,甚至也有众多艺术届大咖入驻豆瓣,分享自己的观点。
豆瓣板块内容,图/豆瓣App
但有人的地方就有争议,豆瓣娱乐小组就是非议最大的地方,甚至一度演变为狂热粉丝们互撕谩骂、挑动对立、给爱豆竞对作品打低分的战场。尽管豆瓣官方一直出手整治乱象,但似乎并没有起到什么效果。
这些年,豆瓣除了难以根除饭圈等乱象之外,自身地位也一再被其他后来者超越,甚至连从豆瓣独立出去的下厨房App月活都比豆瓣高。
据易观千帆数据显示,从2014年到2021年,豆瓣App月活从300万增长到1200万上下,而日活目前在300万左右。而据移动互联网第三方数据挖掘和数据研究机构比达网数据显示,2021年4月下厨房活跃用户数为1321.7万人,是行业内唯一一个超过千万活跃用户的产品。
从PC互联网到移动互联网时代,豆瓣错过了太多崛起的机会,这其中既有豆瓣创始人阿北的决策失误,也有时代变迁造成的大环境影响。
如今,53岁的阿北已经将一半精力放在了家庭。据晚点LatePost报道,一位熟悉阿北的投资人说,几年前,阿北“被豆瓣消耗得很干很干”。
但明显,豆瓣依然需要持续进行内容管理,只有管好内容,它才能继续往前走。
网信办进驻豆瓣,阿北没管好豆瓣?
网信办工作督导组进驻八天后,豆瓣解散了15个问题小组。
3月22日,豆瓣官方账号“豆嬷嬷”发布公告表示:根据《关于进一步加强“饭圈”乱象治理专项行动的公告》的工作要求,给豆友营造一个清朗的网络讨论环境,豆瓣将持续配合开展整治“饭圈”乱象的专项工作。
豆瓣本期整治工作中解散的问题小组为古玩杂货摊、豆瓣韩式泡菜小组、青三创四热血组、十八楼数据库等。
豆瓣公布的解散小组名单,图/豆嬷嬷公告
而从豆嬷嬷今年发布的公告来看,2022年以来豆瓣一直在删除违规信息、清理违规账号,以及解散与关停问题小组。
据一刻商业不完全统计,从2022年至今,豆瓣在《网络安全法》《网络信息内容生态治理规定》《关于进一步加强“饭圈”乱象治理专项行动的公告》等各项指导下,处理、删除违规和不良信息396777条;禁言、关闭违规帐号7962个;关停问题小组306个;解散问题小组31个。
这仅是豆瓣2022年做的部分整改动作,在2021年豆瓣受到的处罚更多,力度更大。
去年12月1日,国家互联网信息办公室负责人就约谈了豆瓣网主要负责人、总编辑,针对豆瓣网及其账号屡次出现法律、法规禁止发布或者传输的信息,情节严重,依据《中华人民共和国网络安全法》等法律法规,责令其立即整改,严肃处理相关责任人。
国家网信办约谈豆瓣主要负责人的同时,也公布了北京市互联网信息办公室对豆瓣网运营主体北京豆网科技有限公司依法予以共计150万元罚款的行政处罚。
而在2021年1月至11月,国家互联网信息办公室指导北京市互联网信息办公室,对豆瓣网实施20次处置处罚,多次予以顶格50万元罚款,共累计罚款900万元。如若加上12月刚处罚的150万元,整个2021年豆瓣被罚了1000多万元。
彼时,豆瓣表示根据有关部门的整改要求,豆瓣从2021年12月2日0时-2021年12月17日0时期间,暂停小组回复功能的使用,并暂停小组精选频道的内容更新。
但一波未平一波又起,2021年12月9日,工信部发布一则关于下架侵害用户权益App名单的通报,依据《个人信息保护法》《网络安全法》等相关法律要求,工信部即日起将对106款违规App进行下架处理。豆瓣也在其中,下架原因是超范围收集个人信息,且未按照要求完成整改。
这也不是豆瓣第一次被工信部通报。
2021年11月3日,工信部因重点针对App超范围、高频次索取权限,非服务场景所必需收集用户个人信息,欺骗误导用户下载等违规行为进行检查,此后对包括豆瓣在内的38款存在问题的App进行了通报,并要求在11月9日之前完成整改。
显然,豆瓣没有在规定时间内完成整改,这也导致其被下架处理。而根据《移动互联网应用程序个人信息保护管理暂行规定》,被下架App在40个工作日内不得通过任何渠道再次上架。
从工信部和网信办的公告与行动来看,豆瓣面临的各种处罚也有迹可循,而被监管部门多次督促整改,主要还是在豆瓣的管不好社区内容。
从去年到今年,豆瓣一直处于风口浪尖,这也不得不让人质疑,豆瓣的内容为何一再被整改?
豆瓣为何没管好内容?
豆瓣——我们的精神角落,这几乎是年轻人对豆瓣一致印象。
2016年初,豆瓣还拍摄了首部品牌影片《我们的精神角落》,这加深了外界对豆瓣的印象,也引起了众多文艺青年的认同。
《我们的精神角落》剧照,图/豆瓣App
就在众人以为豆瓣能够借此影片重新走上一个新高度时,年终的一场风暴将豆瓣顶上风口浪尖,甚至时至今日这一影响依旧存在。
2016年尾,正在全国上映的3部国产贺岁电影《长城》《摆渡人》《铁道飞虎》均遭遇电影点评网站的低评分,矛头直指豆瓣、猫眼“恶意伤害电影产业”。
随后,猫眼电影下架了“专业评分”功能,豆瓣CEO阿北则在朋友圈表示,“水军已经对评分无助,但黑分仍然是个可误解的话题,说明有很多改进和沟通工作要做,有益的批评我们接受。”
值得注意的是,就在2015年底,阿北还在豆瓣发布了《豆瓣电影评分八问》一文,详细解释了豆瓣评分机制、是否有水军以及怎样解决等问题。
阿北提到,“豆瓣电影评分一人一票,中间没有审核,平时也没有编辑盯着看。每过若干分钟,程序会自动重跑一遍,把最新打分的人的意见包括进来。豆瓣电影评分的主旨和原则,是‘尽力还原普通观影大众对一部电影的平均看法’。这个主旨过去十年没变过,将来也不想变。”
正是由于这样的评分机制,豆瓣电影成为了为数不多具有公信力的平台,但也因为这一机制,让不少营销公司盯上了豆瓣,开始有规模地控制豆瓣评分、买卖账号、养水军号。
尽管豆瓣一直在进行社区治理,但也难以将这一水军产业链完全根除。
除此之外,2018年开始兴起的选秀潮,也开始影响豆瓣生态。众多狂热粉丝在豆瓣建立了专门的选秀小组,在其中分享明星八卦和周边信息,也开始有规模地为自己爱豆的影视作品进行打高分,甚至还给竞争对手打低分。
狂热的粉丝虽为豆瓣带来了大量日活,但与对豆瓣的伤害相比,显然不值一提。
2018年,豆瓣著名娱乐小组“八卦来了”宣布关停,小组成员集体迁移到了“豆瓣鹅组”,但由于组内管理松散且豆瓣官方给予小组“无限自治权”,后续直接造成组内充斥着粉丝对各路明星的谩骂攻击。随后,鹅组先后经历关停、雪藏。
但鹅组被整顿,不仅没能遏制粉丝的狂热行为,反而此后各类其他娱乐小组接二连三兴起,成为了替代鹅组的存在。豆瓣娱乐小组的乱象依旧在重复上演,不少明星也因此告了豆瓣。
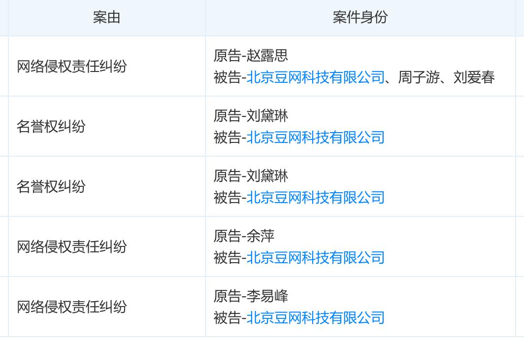
从天眼查可以看到,不少明星如井柏然、赵露思、李易峰、张艺兴等都因网络侵权责任纠纷将北京豆网科技有限公司(豆瓣公司主体)告上了法庭。
豆瓣与明星纠纷案件,图/天眼查
面对如此境况,低调的阿北极少回应,甚至都极少与投资人交流,这也引起了一些投资人的不满。
据网易科技报道,一位曾参与豆瓣融资的创投机构投资人说:“以后打死都不会投豆瓣、雕刻时光这样的项目,这样的项目的典型特征就是,死又死不掉,上又上不去,你说他两句吧,这些文艺中年的CEO还和你各种不高兴。”
但这就是阿北的一贯风格:低调、佛系、固执,甚至没有把豆瓣当成公司运营。
据晚点LatePost报道,曾有一位资产规模很大的跨国PE求keso(阿北好友)介绍阿北认识,三个人见面聊,PE跟阿北讲,豆瓣不要上市了,这笔钱我给你,你就像上市一样,“该干嘛干嘛,把规模做得更大就完了”。阿北没有表现出什么抗拒感,但也没有说很多话,“明显就是兴趣不大”。
阿北好友Keso对阿北的理解是:他更喜欢去创造和打磨一个产品。有时候他可能有点不食人间烟火的感觉,也因此给人感觉好像还挺年轻的。
一切似乎都有了解释,阿北的性格成就了豆瓣,但也是这一性格,让豆瓣的内容经历着无序发展,因为阿北创造了一个乌托邦,但治理的人不是他,而是这个乌托邦的所有成员。
成立17年,豆瓣依旧小众
2005年3月6日,这是豆瓣正式上线的第一天。彼时,豆瓣赶上了互联网红利,刚登场就收获了一众好评与用户。
但17年过去,豆瓣没有如想象般壮大,反而一直在自己的角落中,成为了一个小众社区。
一个可对比的数据是,据艾媒北极星数据显示,2021年12月,豆瓣豆瓣月活用户为588.3万,而同为网络社区的微博、百度贴吧、知乎的月活用户分别是3.1亿、4480.3万、3093万。
十多年时间内,豆瓣不是没机会成长壮大,而是错过了太多机会。
据晚点LatePost报道,前豆瓣产品部陈爽记得,2012、2013年前后,在一间咖啡厅聊业务时,阿北曾讲给她一个用算法输出内容的想法,“有点类似今日头条”。她当时听完,就觉得“这个一定有市场”。
但可惜的是,这个想法“只是在阿北脑子里闪现了一下,他(阿北)是无法走到头条这一步的”。而阿北也很早就知道豆瓣同城、小组有做出一个陌陌的可能性,“但是他的认知会让他把这个想法关进小黑屋”。
阿北错过的不止于此,曾经豆瓣有机会做成电商业务。当时,豆瓣东西比网易严选等竞争对手推出时间都早,但阿北不不愿意为豆瓣东西建立仓储物流做电商,为此市场份额一直敌不过其他竞品。最终,豆瓣东西也被迫关停。
如今,豆瓣商业化主要依靠的还是广告业务。
豆瓣除了放弃太多机会扩张版图,也没抓住移动互联网的浪潮。2010年,移动互联网兴起时,阿北将图书、电影、小组等板块都做成了独立的App,数量最多时豆瓣在应用商店内有14个App。
原本,阿北希望通过独立的App留住特定人群,让不同兴趣爱好的人都能在豆瓣找到属于自己的精神角落。但现实是,各个独立的App既没能留住特定群体,分散的业务线也让豆瓣失去了原本的平台优势。
就在豆瓣自顾不暇之际,网易云音乐、猫眼、陌陌等产品逐渐吃掉了豆瓣的用户,而等豆瓣意识到错误时,其已经错失了布局移动互联网的最好时机。
2014年豆瓣年会上,阿北也公开承认了自己的错误决策导致豆瓣错失了移动互联网最好的三年时机。也正是在这年年底,豆瓣整合所有功能后,在应用程序平台上架了豆瓣App。
此后,豆瓣在2018年将豆瓣阅读、豆瓣音乐拆分出来后,再不折腾。据晚点LatePost报道,2016年阿北有了一个女儿,此后他将重心从公司上挪开,现在每年只有一半的时间在国内处理公司事务,另一半时间在国外陪伴家人。
很难说是阿北的性格,还是后来者的凶猛,让豆瓣一直囧于小众的局面,它依旧保持着创立之初的文艺风格,也依旧是众多年轻人的精神角落,但内部也频繁出现各种乱象,致使监管不得不出手整治。
这么多年过去,阿北没能让豆瓣获得更大的发展,一直保持着小而美的状态。至今,豆瓣保持着和阿北一致的气质,这也导致,阿北很难找到更适合的人替他管理豆瓣,他只能自面豆瓣的内容管理问题,只有这样,才能解决豆瓣的内容乱象,留下对它有感情的用户。
(本文头图源于豆瓣官方微博。)
本文来自微信公众号“一刻商业”(ID:yikecaijing),作者:于沐,编辑:周烨,36氪经授权发布。















