苹果最重磅新品,凉了?
最近这几年,随着同质化现象的愈发严重,各大手机厂商的发力点都不约而同地转向了折叠屏,折叠屏市场开始变得越来越火爆。从三星到华为,再到小米、荣耀、OPPO,基本上市场占有率高的几个品牌,统统都在尝试推出自己的折叠屏产品,就连暂时没有推出折叠屏产品的vivo也有望在今年入局。
有趣的是,在诸多手机大厂中,目前只有苹果一家厂商在折叠屏规划上没有任何公开表态。不过没有表示,不代表着苹果对折叠屏真的没有想法。自前年起,网络上不断爆出苹果即将推出折叠屏iPhone的消息,从相关专利、产品设计、屏幕供应商到铰链供应商都被媒体先后曝光,俨然一副产品即将发布的样子。
遗憾的是,根据目前的情报来看,折叠屏iPhone似乎并不会在短时间内与我们见面。根据显示屏研究机构DSCC分析师Ross Young发布的最新报告,受到产品规划、硬件设计、技术成熟度等因素影响,苹果公司很可能会将折叠屏iPhone的发布时间推迟到2025年,而非此前传言中的2023年。
对于死忠果粉而言,这个消息不亚于一道晴天霹雳。至少还要三年时间才能等到的产品,着实把果粉们那颗跃跃欲试的心给直接压了下去不少。不同的是,这则新闻反而激起了不少普通消费者的好奇心,苹果的折叠屏iPhone究竟会是怎样的,这款产品真的能够对手机市场产生巨大冲击吗?
01 苹果的折叠屏
尽管从现在的眼光来看,苹果在折叠屏领域的动作是比较谨慎的。事实上,早在2016年,网上就已经开始传出苹果要推出折叠屏手机的消息。
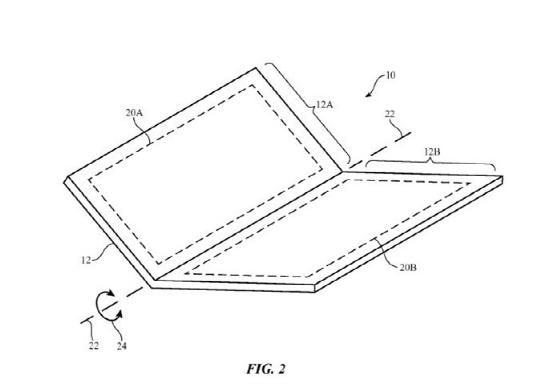
根据现存资料显示,当时苹果向美国专利局申请了一项名为“柔性显示设备”的专利设计,专利号为No.9504170。在这份专利中,苹果描述了一款可折叠的iPhone设备,该产品将会配备了一块可折叠的柔性OLED显示屏,并将采用特殊的铰链设计以满足高强度折叠的需要。
从产品设计图上看,在大部分手机厂商还在研究如何增加屏幕占比的时候,苹果已经拥有可折叠智能设备的雏形了。直到今天,诸如三星Galaxy Z Fold 3、华为Mate X2、OPPO Find N等市面上常见的折叠屏设备,基本也都在采用和苹果当年思路基本一致的内折设计。
在往后的时间里,苹果依然没有闲着。
2018年,苹果注册了一款有关于OLED面板涂层的专利,该涂层可让OLED屏在减少磨损的情况下进行折叠;2020年,苹果注册了一款有关于可折叠设备铰链的专利,利用可移动的襟翼来防止折叠时显示屏出现折痕或损坏(整体设计类似摩托罗拉、华为和OPPO的铰链)。
从这些申请的专利资料中,我们可以看出,苹果的确有在不断完善可折叠设备的产品设计。有趣的是,从前年公布的一份设计专利来看,苹果考虑了很多种折叠设备的可能性,除了横向内折设计,就连横向外折、纵向折叠以及三重折叠等设计也在苹果的专利当中有所展现。
说了那么多,小雷也知道大家最关心的还是这款折叠屏iPhone的设计。不过大家都知道,苹果是不会这么早就曝光几年后发布的新品的,这就到了爆料媒体下场的最佳时机了。
如果苹果最终选择纵向折叠设计,那么我们预想中的折叠屏iPhone很可能就是下图这个样子。这种类似三星Galaxy Z Flip的设计,优势在于展开后尺寸和普通折叠屏手机相似,但折叠时更加精致小巧,这样既满足了大屏爱好者,又能俘获一直以来支持小屏手机的用户。
如果苹果最终选择横向折叠设计,那么我们预想中的折叠屏iPhone很可能就是下图这个样子。从外观设计来看,这个直角边框、刘海设计的折叠屏iPhone确实很有苹果的味道。考虑到这款产品能够做到在折叠时和普通手机大小相同,但展开之后达到平板电脑的尺寸,取代iPad mini似乎也不是什么不可能的事情。
值得一提的是,以上图片并不代表苹果最终的设计,这些外观都是按照苹果曝光的专利所还原的。苹果的折叠屏设备会在何时发布、会以什么样的形态出现,取决于折叠屏设备在苹果心目中的地位。目前苹果明显将更多的精力放在了汽车制造、AR产品上,折叠屏设备会不会出现,还是一个问题。
02 要创新?折叠屏靠不住
不知何时,苹果和“创新”二字开始渐行渐远了。
不难发现,在这几年的iPhone发布会上,苹果能给观众带来的惊喜已经越来越少。如果按时长来算,接近一到两小时的演讲,能让观众感到惊艳的时间加起来可能还不到半个小时,难怪各大社交媒体上面的数码爱好者每次发布会都在直呼“数码春晚已经不在了!”
为啥?
因为差不多的技术,都在友商身上看得差不多了。仔细回顾一下,我们不难发现近些年的iPhone系列对于稍微了解科技行业、消费数码行业的“发烧友”来说是有多么平平无奇,诸如“高速”快充、5G网络、高刷屏幕等主要升级点,基本都是安卓手机玩腻了的技术。
问题来了,上一款能让我们惊呼的苹果产品是哪款?细想一下,如果从产品性能来看,几乎每款苹果设备都能得到不错的提升;但是如果从产品设计来看,似乎只有四年前iPhone X推出的时候才能够引起我们感官上的刺激,而这个产品设计已经有足足四年没有变化了。
一个很现实的问题是,苹果的产品正在变得日益平庸。
为了重新拾起“创新”的基因,苹果选择了折叠屏作为全面屏之后的突破口。
不可否认,如今正是折叠屏手机的风口,屏幕素质、折叠铰链等关键技术的突破,让越来越多的厂商进入这个市场,诸如三星Galaxy Z Fold 3、华为Mate X2、OPPO Find N等一系列高素质产品的诞生,不仅拉低了折叠屏手机的门槛,也为消费者们展示了屏幕形态的更多可能性。
问题来了,有市场,有生态,有供应链优势,品牌也足以支撑起较高的定价,为何苹果最终迟迟不入局折叠屏?
个人认为,可能存在的原因有两点。其一,苹果对于目前折叠屏展现出来的效果并不满意。即便屏幕素质提升、铰链技术升级,但是折叠屏设备目前依然存在着不少问题,除了折痕、强度、使用寿命这些硬件上的难题,诸如使用场景、软件适配这些软件上的问题更是一道跨不过去的坎。
纵观苹果过往的产品,整体策略是相当保守的,只有一项技术的风险降得够低,苹果才会将其运用到量产产品上。在过去的四年时间里,苹果iPhone系列产品一直没有改变过产品设计,也是在一定程度上受到了产品策略的影响。苹果不希望自己贸然推出一款未得到完善的折叠屏产品,届时又将是一次公信力的下跌,以及铺天盖地的质疑声。
其二,苹果可能并不认为如今折叠屏手机还算是什么“创新”。事实也是如此,目前市面上的折叠屏手机已经达到两位数了,在这样的背景中就算苹果真的鼓捣出一款折叠屏iPhone,但除了给用户提供一些视觉上的新鲜感之外,真的谈不上是什么“设计革命”、“巅峰传统”。
最后,个人认为,作为“旧时代的产品品类”,iPhone确实不太可能会用上什么新潮的设计。根据DSCC分析师Ross Young的爆料,比起折叠屏手机,苹果现在对于折叠屏笔记本电脑更有兴趣。正如国内从业人士常挂在嘴边的那样,苹果要走的是新赛道,要做的是领头羊。至于折叠屏手机,那可能是很久以后的事情了。
本文来自微信公众号“雷科技”(ID:leitech),作者:雷科技数码3C组,36氪经授权发布。















