“滤镜”式种草广受诟病,200亿美元的小红书被高估了吗?
今年4月份,小红书正式上线《社区公约》,第一次明文标明“真诚分享、友好互动”的价值观,同时要求创作者在分享内容时抵制炫富、申明利益关系、反对伪科学和避免过度修饰。
按照小红书的设想,这一份《社区公约》应该能起到净化社区环境的作用,帮助小红书减少炫富、滤镜使用过度等由来已久的争议。谁承想,国庆之后一波持续发酵的舆论危机,让小红书的努力化为泡影。
成立以来一路蒙眼狂奔的小红书,从没像现在这样充满成长的烦恼。
作为种草经济的先行者和领导者,作为无数小红书女孩心中的种草圣地,小红书到底该怎么克服这些困难?
200亿美元估值逻辑
争议没有压垮小红书。一次意料之内的融资,一个超出预期的估值数字,仿佛一夜之间将萦绕在小红书头顶的乌云驱散。
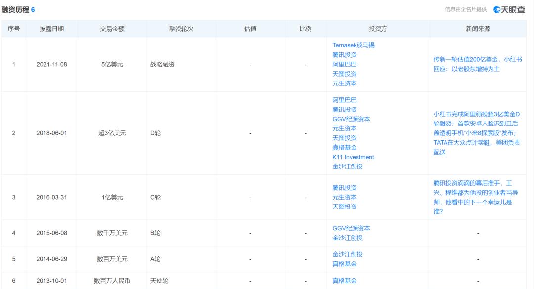
11月8日,据媒体报道,小红书于近日完成了新一轮5亿美元融资。小红书方面回应称,本轮融资主要以老股东增持为主,由淡马锡和腾讯领投,阿里、天图投资、元生资本等老股东纷纷跟投。
价值研究所(ID:bttimes)翻查天眼查的数据显示,小红书目前一共完成了6轮融资,上一轮融资出现在2018年6月份,股东名单里同样有阿里巴巴、腾讯、元生资本和天图投资这几个熟悉的面孔。
值得一提的是,在完成此轮融资之后,小红书的估值已经来到200亿美元。而在去年上半年完成一轮私募融资时,小红书的估值才不过50亿美元。也就是说,不过一年的时间,小红书的估值已经翻了四倍。
(图片来自天眼查)
200亿有多贵?
做个对比大家就清楚了:知乎目前的市值是49.47亿美元,B站市值297.23亿美元,百度市值561.84亿美元。
也就是说,成立还不满10年的小红书,如今的估值已经约等于4个知乎、0.7个B站、0.35个百度……
一边是饱受争议的口碑,一边是扶摇直上的估值,小红书靠什么打动资本?
价值研究所(ID:bttimes)认为,这要回归到最基本的概念上:资本市场对互联网独角兽企业的估值逻辑里,最看重两点——当前核心业务的营收能力&市场地位,以及未来重点发展业务的增长潜力。
虽然没有官方财报,但综合多家第三方机构的研报,小红书的业务还是以种草社区、电商带货为主。而这两大主营业务,又组成了小红书广告+电商两大现金牛。
结合小红书当前的情况来看,核心业务(以种草社区为依托的广告业务)维持稳定增长,未来重点业务(电商)也在积极破局出圈,这就难怪能俘获资本的欢心了。
先来说小红书的老本行:种草社区。
对于种草这门生意,价值研究所(ID:bttimes)十分同意咨询机构克劳锐提到的一个说法:博主质量和社区氛围,是成功种草的关键。
作为种草经济鼻祖的小红书,无疑拥有庞大用户基数。根据易观千帆的数据,截止今年9月份,小红书MAU约为1.5亿,女性用户、年轻用户和中高消费用户占据主力。具体来看,女性用户占比67%,30岁以下用户占比66%,中高消费用户占比更是高达86%。
这群核心用户的诉求,其实不难分析:追求个人生活品质,愿意花钱讨好自己,也乐于尝试新鲜事物。
千瓜数据发布的小红书活跃用户画像就显示,彩妆、护肤、穿搭、美食和运动健身是小红书用户们最关心的话题。
(图片来自千瓜数据)
以此用户画像为基础,小红书孵化了具有明显平台特色的内容生态矩阵:美妆、美食、母婴、汽车、数码3C等垂直领域,成为小红书种草社区的主力。
尤其是美妆和美食量达到垂直领域,在小红书头部博主中的占比远超微博、B站等内容社区。根据克劳锐统计的数据,小红书美妆和美食类Top 30账号粉丝数占比分别为51.7%和33%,占据了大半壁江山。
(图片来自克劳锐研报)
高度集中的用户诉求,为小红书提供了精确招商的便利。
根据第一财经的统计,截止去年年底,小红书和近8万个品牌有过合作,其中不乏完美日记、谷雨、花西子、UBRAS等长期米饭班主。背靠这些慷慨的广告金主,小红书广告收入直线上涨。
数以万计的小红书博主,自然也是受惠者。
根据艺恩星数的统计,光是今年上半年,美妆品牌就投放了超过1.5万篇笔记,投放量前14%的品牌贡献了超过77%的笔记投放。而根据头豹研究院的统计,广告收入占到小红书总营收的80%左右,电商业务只占20%。
不过,前段时间的滤镜争议,加上更早的时候爆出的代写、黑产丑闻都表明,小红书光靠广告肯定无法撑起200亿美元的庞大估值。
这背后,揭示了种草经济的局限——依托庞大的用户基数,小红书广告当然能为客户提供很好的推广窗口,但也存在“高曝光、低转化”的问题。
这些问题,想必已经影响了部分广告金主的投放热情。
事关未来的电商梦
和前段时间的滤镜争议一样,小红书坊间口碑下滑,很大程度上也归因于广告过于泛滥、KOL/KOC过于追求流量导致内容质量下降。
在知乎上,有一个“小红书上的广告可信吗”的提问,前排的高赞回答画风高度统一:“小红书广告可信的肯定有,但不可信的也是一抓一大把”、“用户体验非常差,对于真正的广告还有纯分享这两个分不清”……
小红书广告多,是早已存在的问题。只不过近段时间的滤镜争议,进一步放大了用户的不满。
时至今日,微博上仍有不少网友声讨小红书的网红滤镜。
网友@琳琳是Lilia在上周发布的动态中,展示了了小红书博主推荐的韶关南岭红沙漠景区的无滤镜真面目,并配文“真心劝你们千万别来,来了就会后悔。”
在下方评论区,吐槽小红书博主滤镜太重、感谢@琳琳是Lilia主动排雷的声音也占据主流。
甚至小红书前段时间的道歉声明,在社交平台上也不乏吐槽之声。
微博网友@生椰好喝表示,“早该道歉了,对于这类虚假的推文就应该直接删除”;另一网友@歌剧与魅影的吐槽更加犀利:“把信任你的女性用户当资源宣传,道歉这个更实际”……
可以说,口碑下滑之后,流量正在反噬小红书。
过去两年,完美日记靠着对小红书KOC的长期、大规模广告投放,赢得了高达1197%的销售增速,成为业内神话。但千瓜数据的统计显示,去年以来完美日记在小红书投放的笔记数没再延续2017-2019年的阶梯式增长。
红星资本局近期的一篇采访中也提到,某快消品牌市场部负责人直言,小红书的广告对品牌方来说更多只有提供曝光机会的作用,但无法带来大量的购买转化。
(图片来自小红书)
小红书当然不会忽视自身的问题,也一直在寻找解决办法。
一方面,平台加强了对KOC/KOL,以及入驻MCN机构的管理,大量清理不合规的笔记和账号。
另一方面,大力发展电商业务,也显得尤为关键。
联系到我们在前面提到的小红书估值逻辑,可以得出一个结论:如果说种草是小红书的现在,那么电商就是未来。
按照行业内的普遍观点,小红书成立至今总共分为三个发展阶段:
2013年-2017年为成立初期,主要探索“社区+自营电商”模式,并将重点放在跨境电商领域;
2017年-2019年初,电商业务全面转型,以UGC社区模式为载体,以增加广告收入为主要目的;
2019年至今,持续深耕种草经济,努力打造种草社区和电商业务的交易闭环。
总的来说,电商对小红书的重要性一直不低。只是苦于没有找到合适的发展方向,才会不断调整。
(图片来自Pexels)
所以,小红书电商未来的发展方向?
小红书未必想重回自营电商的老路,但更不想只做淘宝、天猫的流量池——成为一个第三方电商交易平台,打造内部交易闭环且将外部电商资源据为己用,才是其终极目标。
CNNIC的数据显示,2017年之后,传统电商的用户渗透率增长速度就维持在4%-5%,低俗增长趋势明显。
与此相对应的,是传统电商平台获客成本、营销支出的上升。
根据艾瑞咨询的统计,除了背靠微信这个庞大流量池且获得下沉市场巨大人口红利的拼多多之外,京东、阿里和唯品会等传统电商的获客成本都在持续上升。其中,京东在2018年的情况最为艰难:单个获客成本高达1502.9元。
阿里也没好到哪儿去。东兴证券统计的数据显示,自2013年以来,阿里单MAU成本就呈阶梯式上升趋势,但移动端GMV和收入占比反倒陷入瓶颈,增长曲线一再趋缓。
(图片来自东兴证券)
在此背景下,小红书这样的内容平台,一度成为淘宝天猫的重要流量入口。
去年双十一前夕,小红书笔记正式开放接入淘宝链接。当时很多人认为,这是阿里和小红书加深绑定的信号。但从小红书此后的动态来看,价值研究所(ID:bttimes)认为,这更像是一次试验:以淘宝这个庞大的电商王国,为小红书自己的电商生态测试用户反应。
今年春节期间,小红书美妆、潮流服饰、美食和母婴等垂直品类商品开始在直播间大规模上线,上架率均超过5%。据艾媒咨询统计,光是美妆护肤类和身体护理类商品的直播带货销售额就分布高达3000万和600万,可以说是大获成功。
(图片来自艾媒咨询)
说到底,小红书对电商的野心从未消失。而最打动资本的,不仅是这份野心,还有小红书所走的内容电商路线,拥有比传统电商更高的增长潜力。
优质的社区氛围和UGC内容生态,是内容电商发展的基石。这两块基石,小红书都不缺。
一方面,优质内容能第一时间吸引用户关注,传播速度、口碑发酵和互动效果都远优于传统电商的广告导流模式。另一方面,小红书年轻化、高收入的用户群,对美妆护肤等产品有很高的要求,也愿意承担更高的价格。
小红书接下来要做的,无非就两件事:第一,努力培养用户的交易习惯,提高从种草到拔草的转化率;第二,提供更丰富的交易场景,让用户在小红书就能完成所有交易环节。
种草&电商,相辅相成
我们要明白一点,单论种草,无论微博、B站,淘宝、天猫,还是抖音、快手,其实都还玩不过小红书。
最初定位时尚内容社区的蘑菇街,一度号称“内容电商潮流的引领者”。但蘑菇街的衰落,恰好证明了小红书的难能可贵。
Quest Mobile数据显示,2017年第三季度为蘑菇街和小红书发展的转折点:这一季度过后,后者的MAU反超前者,随后迅速拉开差距。
(图片来自东兴证券)
理论上,蘑菇街也有图文+视频+直播的丰富内容矩阵,也有不错的用户基础,但输给小红书,还是败在UGC模式上。
蘑菇街的内容生产模式以PGC为主,UGC为辅,前者主要靠平台认证的时尚达人,后者的发展一直不温不火。数据显示,小红书平台的内容创作者在今年第一季度达到4300万高位,同期蘑菇街尚且不足百万,两者有着天渊之别。
在价值研究所(ID:bttimes)看来,UGC内容模式之所以能在种草经济中发挥重要作用,在于它能提供当代年轻消费者所需的参与感&沉浸感。
克劳锐一份针对各大平台种草效果的研究中有一组颇为有趣的数据:37.5%的用户会在小红书关注红人,55.4%的用户关注某KOL/KOC的原因是所发内容实用性高。
这揭示了小红书种草社区的魅力所在:用户带着和别人交流的目的而来,继而被KOL/KOC的分享折服,慢慢提高信赖程度高,然后被成功种草。
换句话说,小红书的种草,不是一个打广告的过程,更像一个社交的过程。
从这个角度讲,淘宝和天猫没法好好种草,是因为硬广性质太突出,缺乏小红书社区里博主和用户的双向交流氛围。微博受内容形式所限:缺乏直播、短视频内容供给,单靠传统的图文难以打动日益挑剔的年轻用户。
但这些平台还都有一个共同问题:不走UGC模式(或者发展得不顺利),用户就会缺乏参与感,只靠KOL/KOC带货,难以维持社区活跃度。
艾媒咨询的一份调查显示,小红书用户的使用目的中,“了解某种产品的介绍及用户使用心得”、“购买小红书商城的商品”排名靠前,比例加起来超过80%(不去重)。
(图片来自艾媒网)
这意味着,只要给用户提供足够便利的交易环境,他们会很乐意在小红书拔草,购买自己心仪的产品,而不用跳转到淘宝、天猫等第三方链接。
有鉴于此,小红书也是动作不断。
近日,有赞、微盟先后宣布和小红书达成小程序商城解决方案合作协议,有赞和微盟的商家都将悉数接入小红书平台。
以微盟为例。据官方信息,10月20日启动首轮内测之后,就有百余家商家报名申请,包括多乐士、鸿星尔克、卡宾、艾莱依等和小红书生态高度吻合的商家。
前面我们提过,小红书广告业务饱受争议的其中一个原因,是转化率低。而想提升转化率,一个很关键的任务就是,提高用户的交易便利性。
闭环,还是那个最重要的电商交易闭环。
接入有赞、微盟,大大丰富小红书平台的电商生态,逐渐砍断第三方链接之后,用户的交易无疑会变得更加便利,从种草到拔草要经历的中间环节也会进一步缩减,电商业务的活跃度自然也有望进一步提高。
当然,小红书要做内容电商,不会缺少对手。
知乎在近段时间悄然宣布上线自营电商,有发力电商业务的倾向。
不过,据价值研究所(ID:bttimes)观察,知乎目前上线的产品品类还不算十分完善,双十一秒杀专区以手机数码、日用百货为主。而且知乎首页目前还没有自营电商的一级入口,在正式上线的时候也只是通过官方账号“知乎好物推荐”发布了一条动态,以至于很多用户根本不知道怎么进入自营商店。
(图片来自知乎)
这一现状表明,知乎做自营电商还只是在起步,或摸索阶段,短时间内不会对小红书造成威胁。
但从内容社区的属性来看,一旦知乎大规模进军电商市场,两者之间的正面遭遇战或许难以避免。
不过,小红书最直接的竞争对手,还要数美团旗下的大众点评。
两者最大的相同之处在于两个关键词:种草,UGC。
价值研究所(ID:bttimes)一直认为,大众点评某种程度上可以说是餐饮等本地生活服务行业的小红书。两者一样通过UGC模式为用户提供消费建议,大众点评的生态甚至比小红书更加包容普通用户,对KOL/KOC的依赖也没那么高。
另外,在页面设置、信息流推荐模式等方面,小红书和大众点评都是如出一辙。
(左:小红书,右:大众点评)
如果说小红书和知乎将来可能在电商业务上出现正面竞争的话,那么大众点评和小红书则是在种草生意上的全面竞争。即便两者目前发力的垂直领域并不一样,但互联网巨头做生意向来没有边界,未来会否走进同一个战场谁也不敢下定论。
总而言之,小红书的未来必然是充满各种挑战的,我们现在暂且保持观望。
写在最后
今年8月份,小红书宣布对蒲公英平台进行升级,持续优化商业内容生态。
官方声明中表示,蒲公英平台集品牌合作、电商带货和新品试用三大业务于一体,致力于为品牌提供具有种草特色的营销服务。
升级的蒲公英平台,将广告营销和电商这两大重点业务牢牢结合在一起,是小红书为外部商家立下的投名状:种草我们是专业的,电商我们是不会放弃的。
和很多人一样,当得知小红书的估值已经飙升到200亿美元时,价值研究所(ID:bttimes)第一时间也是感到惊讶,甚至带有一丝疑虑。可是经过抽丝剥茧般的拆解,还是可以看到小红书的核心竞争力。
今年以来,有关小红书即将IPO的消息传了一轮又一轮,始终没有准信。但上市与否,对于深受一级市场喜爱的小红书来说好像也并不是那么重要——种草为基础,电商为重点的发展战略已经向各路资本描绘了一副美好的增长蓝图,获得源源不断的弹药支援。
只不过,口碑下滑仍是一个无法忽略的隐忧。不缺钱的小红书,希望能再给我们带来惊喜。
本文来自微信公众号“价值研究所”(ID:bttimes),作者:Hernanderz,36氪经授权发布。















