竞逐“AI医疗影像第一股”,万亿级赛道数坤科技有何“戏码”?
医疗行业正加速向线上渗透。
据IDC统计数据显示,到2025年,世界人工智能市场总值将达到 1270 亿美元,其中医疗行业将占市场规模的 1/5,可见 AI 医疗健康的前景巨大。美国咨询公司弗罗斯特沙利文公司就曾提到,“人工智能可将医疗效果提高30%到40%,减少多达50%的医疗成本”。
随着AI技术的不断进步,与多种应用场景深度融合,逐渐成为推动经济创新发展的重要技术,AI 医疗的研究重心逐渐向医疗影像,语音辅助诊断等新兴技术靠拢,AI 应用的分水岭逐渐显现。
国内AI医疗市场再度掀起了投资热潮,而提前在该领域布局的AI企业,也一扫从前的阴霾,迎来了春日的暖阳。
9月21日,AI数字医生平台公司数坤科技正式向港交所提交招股书,拟在香港主板挂牌上市,摩根大通、美银证券、中银国际证券为其联席保荐人。
虽然AI医疗影像领域前景广阔,但发展现状并不乐观,仅在数据整合这一关整个行业都面临巨大挑战。赴港上市的数坤科技的投资价值又将如何?接下来,IPO捕手将通过多个维度解读数坤科技上市之路。
屡获融资,数坤科技为何博资本青睐?
据招股书显示,数坤科技于2017年6月成立于北京。作为一家医疗AI高科技公司,数坤科技自主研发首创了数字医生产品组合,提供以疾病为中心的、全面的、端到端的人工智能医学影像平台。数字医生赋能人类医生,能使其诊断效率大幅提升几倍至十几倍,同时提高准确性及一致性,带来更多的临床价值。
因押注当年难度极高的“AI+心血管”赛道并收获成功,数坤科技后来居上,迅速跻身医疗AI头部位置。2020年11月数坤科技获得首张“AI+CTA”三类证后,迅速开启商业化,并将其产品由“AI+CTA”向“数字人体”拓宽,布局医疗AI诊断全赛道。
正是凭借这份机遇,即使在行业竞争激烈的情况之下,数坤科技也获得了不少机构投资者的青睐。
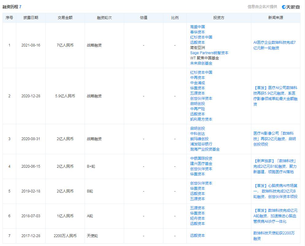
据天眼查数据显示,数坤科技共获得了7轮融资,分别为:
· 2017年12月28日,完成由远毅资本投资的2200万元天使轮融资;
· 2018年7月3日,完成由五源资本、华盖资本、轻舟资本、远毅资本共同投资的1亿元A轮融资。
· 2019年2月18日,完成由创始伙伴资本、五源资本、华盖资本、远毅资本共同投资的2亿元B轮融资。
· 2020年6月15日,完成由中银国际投资、建兴医疗基金、创世伙伴资本、华盖资本共同投资的2亿元B+轮融资。
· 2020年8月31日,完成由启明创投、中科创达、朗玛峰创投、浦发硅谷银行、渤海产业投资基金共同投资的2亿元战略融资。
· 2020年12月28日,完成由红杉资本中国、中再资本、中金浦成、华盖资本、五源资本、创世伙伴资本、启明创投、中再产险、远毅资本、凯利易方资本共同投资的5.9亿元战略融资;
· 2021年8月16日,完成由高盛中国、春华资本、红杉资本中国、远毅资本、简街亚洲、Sage Partners锐智资本、WT 聚焦中国基金、未来启创基金共同投资的7亿元战略融资。
可以说,技术优势成为了数坤科技赴港上市的底气。
据《中国心血管病报告》显示,我国心血管病患病率及死亡率呈持续攀升态势,现患人数2.9亿,这为我国公共卫生及健康事业带来严峻挑战。而数坤科技的数字心冠脉AI产品CoronaryDoc获得了中国NMPA三类注册证和欧盟MDR CE认证,迅速占据市场,并成为心血管疾病诊断的临床入口,这为数坤科技实现多轮融资资助了一臂之力。
站在行业角度来说,数坤科技所处的领域是当下最火的医疗影像AI。疫情爆发后,国内医院对于创新模式下的智慧医院整体解决方案的信息化建设的需求与日俱增,更加刺激了医疗影像AI行业的加速发展。
各路资本也从一开始就迅速捕捉医疗AI赛道上的种子选手,由此可见,数坤科技正站在资本关注的风口上。
身处黄金赛道,盈利难成行业沉疴
据招股书数据显示,2019年、2020年、2021年上半年,数坤科技经调整净亏损分别为6941.6万元、7474.8万元、7516.5万元。
数坤科技作为医疗机构,其在科研上的投入与日俱增,2019年、2020年、2021年上半年公司研发开支分别为4268.9万元、6293.3万元、8118.8万元。
从招股书数据中还可以看出,除了研发成本外,在行政开支、销售开支、员工工资福利和外包服务费、差旅开支上同样居高不下。
据招股书显示,数坤科技此次赴港融资的用途主要是为了扩大其核心竞争力,一直在持续加大商业化推广、丰富生态系统,这对于数坤科技是一笔不小的开支。但在发展已逐步进入成熟阶段的行业里,数坤科技同样面临着愈发激烈的竞争。
万亿级赛道里,机遇与挑战并存
根据艾瑞咨询数据,国内AI+医疗整体市场正处于蓬勃发展期。2019年,中国AI+核心医疗软件服务市场规模已突破20亿大关,2020年将突破30亿。分析师认为,这一市场到2022年将成长至70亿元以上。
而站在全球市场的角度而言,数据显示,全球人工智能医学影像解决方案市场预计于2030年进一步达1665亿美元(约合1万亿元人民币),10年间市场扩容近170倍。
但在这条赛道上,又数医疗影像这一业态最为火热。据艾瑞咨询数据显示,目前已有10家公司自研的,以AI深度学习为基础的医学影像类器械在中国、欧盟、美国的相应医疗监管部门拿到证书,行业生态已然迈入成熟期。
根据灼识报告,在全球所有基于人工智能的医学影像解决方案供应商中,数坤科技在治疗领域覆盖范围上排名第一。数坤科技的数字医生管线产品覆盖大部分关键治疗领域,涵盖心脏、大脑、腹部、胸部和肌肉骨骼系统,并针对若干全球最普遍及致命的疾病领域。
数字医生产品组合包括12款产品及25款候选产品,涵盖五个关键治疗领域,包括心、脑、腹、胸及肌骨系统。旗舰核心产品CoronaryDoc是一款用于在CT模态下分析心血管疾病患者的冠脉狭窄的人工智能软件,是同类产品中全球首款且唯一一款获批国家药品监督管理局第三类医疗器械注册证书及MDR CE认证的产品。
数坤针对科室的一站式、全流程的临床研究平台——SK人工智能研究实验室,通过三大模块将数据集转化为数据集产,实现项目管理、多维数据治理和智能分析全过程。
AI数字医疗领域竞争十分激烈,很多企业都在试图竞争“医学影像AI第一股”。6月份,依图科技冲击“AI第一股”遇挫,并于6月30日主动申请撤回了科创板上市申请。另外据公开消息,鹰瞳科技、科亚医疗、推想科技等都已经陆续递交了上市申请或启动上市计划。
虽数坤科技现为行业头部企业,但目前各大互联网大佬已经瞄上了这块蛋糕,此时数坤科技赴港露脸很难不被巨头们盯上,一旦资本入场,数坤科技的现有优势或将受到威胁。
结语
数据显示,2020年医疗融资总额到达历史最高的40亿元,其中,新药研发是今年最热门医疗AI融资领域,占已披露投资额的54%。AI+影像占融资额的比例连续三年保持在20%左右,成为另一热门融资领域。
随着全球关于AI+医疗赛道的创业大潮席卷,创新技术层出不穷,未来将会有越来越多的对手拿到同样的牌照,市场竞争也将更加激烈。
总而言之,数坤科技作为在中国排名第一的医疗影像AI公司,若未来成功赴港,其综合实力势必得到进一步的提升,但行业难题依旧是沉疴。未来能否在市场角逐激烈且AI技术快速发展的背景下,持续推出优质的技术或者产品将会是获得二级市场看好的重要因素。
本文来自微信公众号“IPO捕手”(ID:ipobushou),作者:IPO捕手,36氪经授权发布。















