BOSS直聘:透过招聘看到了年轻人的变化
编者按:本文来自微信公众号“翟菜花”(ID:zhaicaihua520),作者:翟菜花,36氪经授权发布。
“逃离互联网,找到最初的自己。”有很多人打着这样的旗号去创业、奋斗,发现最终还是会与互联网形影不离,这届逃离互联网的年轻人,还是逃不过互联网的“真香定律”,回归到互联网的怀抱中。
都说理想是丰满的,现实是残酷的。据相关数据显示,2020年高校毕业生达到600多万人数,在加上各个岗位上的调动以及更换工作的人,求职者的求职需求与企业的人力资源需求也正在形成一定差距,也有大批的人正在为找工作发愁。
从目前现状来看,有年轻人创业,那自然也有人就业。就业压力极具增加的背景下,虽然能够通过在线招聘平台来缓解就业压力,但是面对岗位与求职者的选择,企业对职位的筛选等,在线招聘的路仍旧有很大的探索空间。
释放IPO信号的BOSS直聘
公开信息现实,目前在线招聘平台BOSS直聘提交了招股书,对于在线招聘赛道,或许又有新的故事要讲。
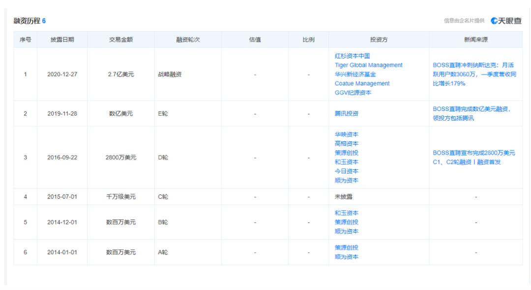
据天眼查APP显示,目前BOSS直聘经历了6次资本融资,在资本市场看来,在线招聘的潜力是源源不断的被挖掘的,也因为每年都会有一大批求职者流入市场,在线招聘对流量的把控也是非常容易,毕竟求职者不会但从一个平台求职,同样的,招聘企业也不会将目光定在一个平台上,所以在线招聘平台的使用率是很高的,但同时完成招聘的机率也就不那么具有确定性。
BOSS直聘融资历程
3·15晚会在线招聘的“集体”失信让很多人意识到行业的监管不力,同时也看到了市场内对简历信息的竞争力,BOSS作为少数没有被点名的在线招聘平台也在不断的去完善自身,并且向IPO看齐,想从上市后寻求在线招聘新的出路。
从在线招聘的盈利模式来看,单一的企业服务也使得平台能够得到的盈利方式有限、盈利规模也有限。简单来说,在线招聘相当于为企业提供了一个招聘的展示位,同时也能为企业提供简历分发、筛选的科技服务,因此企业也要向平台方交一笔“租金”、“服务费”等。虽然简单的服务也能够满足平台的收入,但哪个平台又不像营收不断提升呢?
BOSS直聘作为在线招聘的后起之秀,能够林立在在线招聘的前端,也逃不开烧钱营销为自己打call。BOSS直聘曾邀请演员刘涛和沈腾合作为自身品牌代言,也在一些节目上作为金主去潜移默化的渗透市场,这都是需要源源不断的资金来巩固这种宣传生态。
据BOSS直聘招股书显示,BOSS直聘2019-2021第一季度经调整后亏损分别为4.68亿、2.85亿和1.76亿元,而其营销支出分别为9.17亿、13.48亿和6.19亿元,2019年最高占收入比91.8%,在收支严重不平衡的状态下,BOSS直聘需要探索更多的盈利业务,也需要身后有强大的资本支持,这也是互联网企业大部分都要发力、巩固的。
在创立初期,一句“找工作,直接跟老板谈”打破了固有的招聘方式,让求职者与老板的距离拉近,也让面试的部分更多的呈现在线上,而非单一的线下运行。但是这种模式带来的新鲜感并不能让求职者更快速的找到工作,只是在参考各个“面试官”的条件,最后还是要进行筛选才能完成求职过程。因此求职虽然看重在线招聘平台的实力,但也会按需索取,理性求职。
在线招聘平台、求职者和招聘者三方互有关联,因此平台也更象是一个求职的生态环境,求职者有求职者的需求、招聘方有招聘方的决定,但平台却需要平衡双方的关系,再从中获利,也是平台必要的义务。
求职到创业的观念变化,让“BOSS”失去更多的求职简历
在招聘的三方关系当中,平台与企业为合作共赢的关系,利益纠纷不大,却是在线招聘最主要的盈利来源,但三方关系当中前两者处于B端释放岗位与求职空间的位置,最终决策仍旧会落在求职者身上。
社会在进步,思想在进步,更多的人开始走向自主创业的一边,因此求职者在一定程度上也在减少。了解大学教育的人会清楚,学校非常看重学生的就业率,但是也会鼓励学生自主创业,寻求新机会,而同时,也有一些学生加入自主创业的队伍之中,做自己的boss。
据《90、95后职场私密调查》一文显示,目前58%的年轻人希望未来独自创业。在新时代的变化下,更多的人愿意独立自主的完成创业,他们更倾向于新媒体、短视频创作等,他们想要好的待遇,但更祈求拥有自由的制度完成自己独特、创新的想法,因此更期望能够自己当决策人,做自己的老板。这也是想多来说求职者减少的根本原因。
相比创业的小部分人,求职者仍旧占据大头,但求职者也随着时代发生潜移默化的变化。
有一些老板认为,90后普遍对人权更加看重,不能接受无效加班和无薪加班,养成了到点下班的习惯,同时也更倾向在工作中学习到新的东西,而不是一成不变的工作模式,因此,在求职的过程中,这部分人对于公司环境、文化等等都会有一个考量。
相对来说,现代年轻人找工作不单单是为了养家糊口,很多人并没有生活上的压力,仅仅是租房、吃饭的开支还算充足,但是他们更倾向寻求精神上向匹配的工作,尽量理想化是目前年轻人的追求,跳跃物质、直面精神娱乐。
对于新一代求职者来说,老板的大饼并不能满足自身对工作的需求,从脉脉发布的《中国职场流动趋势年度报告2021》中可看到,在调查中想要更换工作的占到16.3%,34.4%的人已经换了工作,也就是说,尽管有一大批人已经有了工作,但是并不能满足自身需求,因此还是会有更换工作的想法。
再加上老板的情怀法、狼性文化与新求职者的理想化工作并不相符,矛盾在一开始就存在,就会导致求职与招聘的成本增高,产生无效工作。很多老板认为狼性法则是公司提升的重要策略,但对新员工来说,付出与回报一旦不构成正比,就会无法接受。
总的来看,目前求职很难,中间要经历大量的筛选与考量,因此求职者也并不看重平台的公信力与保障,反而对平台上的招聘公司会斤斤计较。如果平台能够为求职者提供更精准的筛选机制,或许会无形中提高用户的留存与转化。否则只是一味的与招聘企业建立合作关系,很可能难以对用户留存。
在线招聘避不开年轻人,新发展需求仍为营收机会
求职者有求职者的考量,招聘企业有招聘企业的条件,那面对双方在线招聘平台又有自己的运行策略吗?
譬如BOSS直聘来说,给求职者最大的便利就是算法机制下的精准批量筛选,让求职者省区了很大的盲目寻找岗位的时间,同时求职者的有效信息也很会被发送至招聘方,然后双方互相筛选,建立交流。平台方提供技术来为求职与招聘的双方建立交流的环境与空间,正是目前求职所需求的重要部分,并且能够通过平台了解招聘公司,也能减少去公司面试的过程。
但完成面试并不是在线招聘的本质,不然从求职到面试到入职然后不合适再推出,这样就会陷入求职的无效循环当中,在线招聘的目的是为了让求职者找到合适的工作,而不是让求职者循环式的求职,这也是一个求职准则。
公司需要的并不是一个完全融入公司文化的自己人,而是一个有血有肉能够完成工作的正常人,因此不管式公司还是在线招聘平台都难以逃离这届年轻人的“轻松”。
年轻人追求轻松的生活态度,表达了不愿意被社会内卷的观点,年轻人并不是一定要埋头苦干、“耗尽阳寿”,而是完成工作后能够尽量理想化自己的生活。可以休闲、偷懒,这就是目前多数年轻人的生活状态,也是放松的方式。但年轻人的放松并不是无所事事,譬如官媒表扬的某位青年,毕业后将村里用画打扮的漂漂亮亮,既实现了爱好的价值,同时对自己来说也是放松的方式之一。放松并不意味着偷懒,只不过在有余的时间里做喜欢的事情。
转还思路来说,年轻人并不是一味的去“放松”,大多数求职者还是想要一个适合自己的工作,但这个适合的判断准则大多需要自己感悟,平台方的算法匹配却很难满足。
BOSS直聘的算法匹配虽然在赛道内属于前列,但是对于求职者本身来说,仍旧有很多无法满足的需求在等待平台方去挖掘、升华,比如分享一些有用的工作经验或者提供一份精彩的求职规划都能为平台带来额外的收益,但前提是能够满足求职者的需求。就目前BOSS为求职者提供的方案来看,求职者付费的几乎少数,BOSS仍旧是在利用B端实现营收,因此面对IPO后的,仍旧是在B端营收的完善以及新业务的探索。
IPO后,BOSS直聘要面临的将会是在线招聘赛道更大的挑战,因此不管未来要讲怎样的故事,最终还是不会偏离营收为王的目的,在线招聘的结局并不会终止,希望BOSS直聘的未来会有新的探索。















