互联网大厂养猪专利谁家强?阿里关心母猪生产,网易充满“猪性关怀”,但京东更强
编者按:本文来自微信公众号“噪点GlitchTech”(ID:timetech2020),作者:卢洁萍,编辑:史成超 ,36氪经授权发布。
从专利看,阿里巴巴擅长AI养猪和养蜂,网易专注造圈舍,京东涉猎领域最广,除养猪外,还养鸡、鸽、鱼等,华为则主打机器视觉养猪。
3月初,华为在机器视觉技术领域推出的好望云服务再次将阿里巴巴、京东、网易的养猪“事业”带入大众视野。
此前2月底,华为机器视觉总裁段爱国就在微博透露,华为推出了华为智慧养猪解决方案。该方案提出,养殖业的发展方向是数字化、智能化和无人化。随后,段爱国再次澄清表示,华为不养猪,而是赋能企业养好猪。
从最早网易在2009年投身养猪业,到2018年京东、阿里相继进军农业,再到如今华为宣布“智慧养猪”,互联网大厂都在争抢科技界第一养猪能手。为了一窥究竟,时代财经梳理了几家“大厂”在养猪相关领域的专利布局发现,各家在养猪这件事上侧重点并不相同。
研究“母猪产后护理”的阿里工程师
国家知识产权局的专利检索及分析系统显示,阿里巴巴从2018年开始至今共申请了13项农业相关的专利,主要涉及养猪和养蜂两个领域。
比如,阿里巴巴在2019年5月申请的“目标对象分娩监测方法、装置和系统、及监测系统和方法”专利,内容是通过获取母猪分娩过程的图像,再根据预设图像识别规则确定所获图像的分娩状态,由此可以替代人工24小时的针对待产母猪进行监控,检测并更新目标对象的分娩状态。
专利“目标对象分娩监测方法、装置和系统及监测系统和方法”流程图
目前,在养殖业中,一般是集中人力,通过人工和经验巡检母猪等牲畜是否发生分娩或者分娩难产等行为。不过,这种方式存在实时性不够的缺陷。
例如,同一批次的母猪分娩时间跨度不超过3天,但是人工巡检无法24小时时刻进行,尤其在晚上分娩的母猪难以被发现,这就会导致母猪在分娩时容易出现生产风险,尤其是对初次分娩的母猪,影响尤其大。而且从大量的猪场调研分析发现,在晚上或冬天分娩的小猪由于没有及时的护理,导致大量的小猪冻死或在母胎内死亡的情况发生。
发明人雷宗雄在申请书中表示,相比传统的人工方式,此系统可以持续地跟踪母猪的分娩全过程,有效地提高了母猪分娩监测的实时性和有效性。而且,此发明还可以根据所述图像中母猪的分娩状态为每个母猪生成分娩信息档案。
雷宗雄毕业于北京邮电大学计算机系,是阿里云的人工智能工程师,于2018年被分配到四川养猪。除了上述检测母猪分娩状态的发明,他还另外申请了“一种预测目标对象发情状态的方法及系统”“目标对象的识别方法和系统”等3项专利,内容分别是检测母猪、种猪发情状态和如何通过图像识别猪。
阿里巴巴与农业相关专利 时代财经制
除了在养猪方面有所涉猎,阿里巴巴还擅长区块链养蜂。
在2019年7月,阿里巴巴申请了一项名为“智能蜂箱、管理平台、电子设备以及管理系统”的专利,实例是智能蜂箱将采集到的数据添加到区块链,通过管理平台和数据,判断智能蜂箱中蜂蜜的成熟度和/或掺假情况,并将成熟度和/或掺假情况再次添加到区块链。而电子设备可以获取用户针对成熟度和/或掺假情况的评价信息,并将评价信息添加到区块链。
与此同时,阿里巴巴还有一种监控方法和系统专利,通过安装传感器得到蜂群的进出信息,从而通过获取蜂群活动规律获悉蜂群的健康状态。
网易擅长造圈舍,充满“猪性关怀”
网易是最早入局养猪产业的互联网企业,通过子公司浙江味央科技有限公司(以下简称“味央科技”)运作。
在2011年,网易养猪场落户浙江时,网易就表示,丁家猪将蹲马桶、睡公寓、不吃药。网易创始人丁磊称,中国养猪将从茅坑时代进入抽水马桶时代,从集中营时代迈入公寓时代。
而从浙江味央科技有限公司申请的专利看,网易养猪相关专利虽然不涉及AI等前沿技术,但确实充满了“猪性关怀”。在其申请的专利中,有4项是关于猪圈棚舍的通风、排泄物处理等,另有一项专利则是“一种动物排泄物的处理装置及动物排泄物的处理系统”。除此之外,味央科技申请的专利还有“可保持消毒效果的建筑物”“避免污染附近环境的臭气处理装置”等。
网易农业相关专利 时代财经制
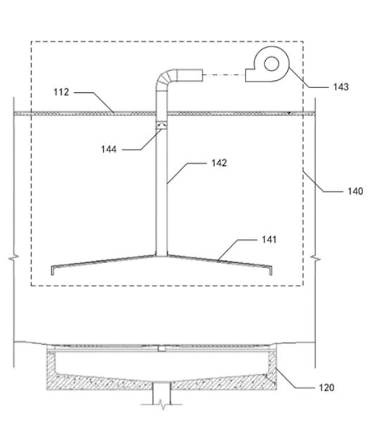
2018年12月,味央科技申请了一项名为“通风结构和动物棚舍”的专利。发明申请书显示,该通风结构用于为棚舍内的动物用马桶进行通风,包括集气罩、排气管和气体抽吸装置。味央科技认为,该通风结构可以减少废气处理风量,降低整场运行成本,保证动物棚舍内马桶外区域良好的卫生环境。
味央科技的专利“通风结构和动物棚舍”示意图
不过,相比于市面上的猪肉,味央的猪肉价格也更贵。味央天猫旗舰店显示,其700克冷冻黑猪肉五花肉价格为102.6元,每斤约72.85元,远超普通猪肉价格。
京东专利最多,涉及养猪、养牛、水产养殖
2018年3月,京东数字科技集团(以下简称“京东数科”)成立数字农牧,并于同年8月发布智能养猪解决方案,随后陆续成立了智能牛羊事业部、智能水产事业部与智能禽类事业部。
京觅为京东旗下自有生鲜品牌,时代财经发现,京觅生鲜京东自营旗舰店品类丰富,除猪肉外,还包括老母鸡、鸽子、鹌鹑、鸭子、鱼、大闸蟹、牛排等,相比网易味央,京东猪肉更便宜,400克京东跑山猪售38.9元,400克黑猪梅花肉则售33.9元。
反映到专利上,京东农业相关专利数量更多、涉及领域更广。
以京东数科的控股子公司京东数科海益信息科技有限公司(原“北京海益同展信息科技有限公司”,以下简称“京东数科海益”)为例,仅京东数科海益一家就申请了42项农业相关专利,其中既有饲料装置变容量饲喂器、保育食槽、料管均分器等,也有对蛋的分拣专利,如“一种禽蛋分拣设备”“一种种蛋的分拣方法、系统、电子设备和存储介质”“一种异常蛋检测设备等”。
京东对蛋分拣的专利示意图
除此之外,京东数科海益还申请了名为“鱼姿势识别方法、装置、设备及存储介质”“一种动物患病状态监测系统及方法”“水产养殖投喂及控制系统”的专利等,可谓五花八门。
值得一提的是,时髦的“猪脸识别”“母猪发情监测方法、装置、系统”京东数科海益也有涉及。
京东旗下子公司农业相关专利 时代财经制
华为主打机器视觉智慧养猪,OUT了吗?
AI养猪已非新鲜事,但华为机器视觉总裁段爱国认为,AI在养猪企业中的应用,相比其它行业还处于十分落后的状态,“有大型的养猪企业主动找到我们,希望一起用技术为养猪业赋能”。
华为的智慧养猪方案基于华为好望云服务,主打机器视觉技术。华为云官网显示,智慧养殖解决方案(以智慧养猪为例)是利用机器视觉、红外测温等技术,为每一头猪建立档案,实时监测每头猪的健康数据,并通过数据分析实现疫情预警、生产力预测等,最终实现数字化、智能化、无人化的智慧养殖产业。
华为好望云服务智慧养殖解决方案示例图 图片来源:华为云官网
专利方面,华为目前没有专门针对猪的专利申请。不过,在数据处理类专利中,可以适用对猪的识别,并可应用在人工智能的计算机视觉领域。
比如,华为在2020年8月申请的“一种半监督学习模型的训练方法、图像处理方法及设备”专利方法,首先通过训练后的第一半监督学习模型对一部分无标签样本的分类类别进行预测,得到预测标签,并通过一比特标注的方式,判断各预测标签是否正确,在下一训练阶段,利用上述信息重新构建训练集(即第一训练集),并根据第一训练集重新训练初始半监督学习模型,从而提高模型的预测准确率。
专利申请书显示,该专利可以用来对图像进行类别预测,可应用于相册分类、拍照识物、目标识别、智能驾驶的物体识别等。不难发现,相比于阿里针对养猪、养蜂,或是网易的猪舍等专利,该技术在农业领域的应用更加底层、通用。















