Keep冲刺IPO:最快二季度申请赴美上市,CFO已到岗
编者按:本文来自微信公众号“新浪科技”(ID:techsina),作者 / 刘娜,编辑 / 韩大鹏,36氪经授权发布。
如今的Keep有些进退两难:进,不断的商业化尝试折损积攒的用户;退,放弃商业化将失去资本市场的青睐。在“用户体验”和“生存”之间,王宁逐渐向后者倾斜。
新浪科技独家获悉,两个月前刚刚完成F轮融资的Keep近日将冲刺IPO,最快2021年第二季度申请赴美上市。对此Keep公关人员表示,“目前暂时还没有收到上市消息”。
内部人士透露,目前Keep已经任命CFO,并在多个渠道招聘投资者关系总监。
该人士还透露,Keep创始人兼CEO王宁等管理层希望Keep最早在2021年上市,最晚在2022年上市,“2019年底遭遇资金链危机后,Keep一方面寻求融资,一方面进行裁员和业务调整,砍掉了无法带来收入的AI等部门。同时曾督促内部员工拉新,提高DAU、MAU数据,在内部被视为为上市做准备”。
上市之急迫:希望最快今年最晚明年
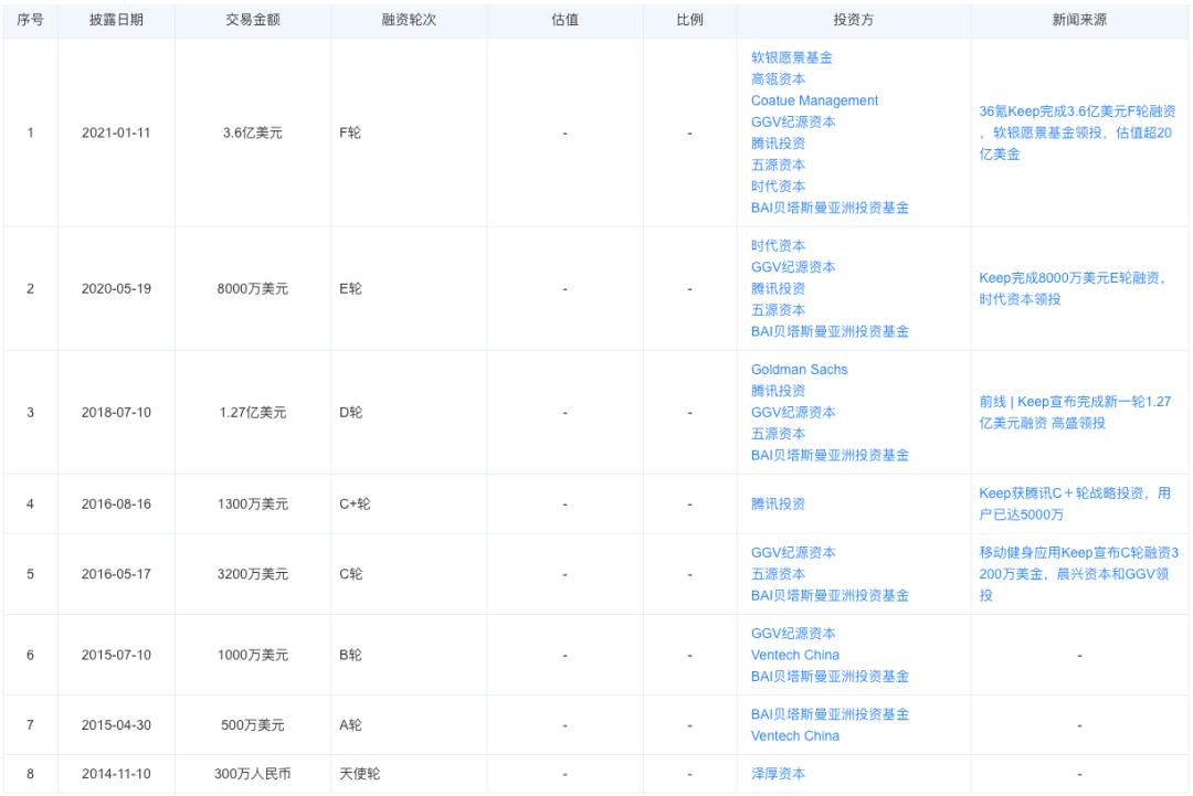
Keep曾在两个月前刚刚宣布完成3.6亿美元的F轮融资,投后估值较上一轮融资的估值翻倍,达到20亿美元。Keep自上线至今近6年时间里,已累计进行8轮融资,在8轮融资中共获得6亿美元。
该人士透露,此次Keep有至少三处变动:第一,Keep已认命CFO,且入职有一段时间,暂时还未对外公开;第二,Keep此前的财务总监已经离职,离职原因是“王宁认为财务总监需要对2019年现金流紧张的问题负有责任,当时Keep曾出现现金流紧张,当年10月在程序员节裁员300人”。第三,Keep正在通过多种途径招聘投资者关系总监,将对投融资以及股东关系负责。
对于Keep CFO已经到岗的传闻,Keep人力资源总监对新浪科技表示,“一切以官方公开消息为准,暂时不方便透露。”对于其他问题,对方尚未作出回应。
“一直在融资,从未上市,盈利模式上一直在尝试,我们也比较迷茫”,一名Keep跑团运营团队的员工对新浪科技表达他的焦虑,他表示公司在商业化上的不断尝试,让员工担心某个业务突然不做了,自己就是被“优化”的那个组。
截至目前,据Keep官方宣布的数据,截至2021年3月累积3亿用户,600万DAU(日活跃用户数量),4000万MAU(月活跃用户数量)。
商业化之焦虑:从全线进军到多点溃败
流量变现是诸多互联网产品的最终模式,也是的Keep多年来兜兜转转难以跨越的山峰。
Keep自2019年开始尝试多线布局商业化,如今看来,这条路走的不算顺利。在多元化发展路径下,2019年至2020年间,Keep的营收途径从原有的付费视频和App会员拓展到五个维度:硬件收入、商城收入、Keepland运动空间收入、线上收入和轻食收入,试图覆盖用户的“吃、穿、用、练”四个场景。
Keep舍弃了用户体验至上的优先级,推翻了此前“没必要过度推进电商与广告破坏用户关系”的价值观,迅速在首页推出在线商城、社交、Keepland等入口——两年时间的尝试下,Keep的多线布局正在遭遇“滑铁卢”。
首先是线下体验店Keepland关店:2018年底,Keepland第一家店在大望路华贸中心低调试营业,曾经一课难求。仅仅一年之后,Keepland关闭了北京的一家门店,又在2020年关闭了上海的三家门店,分别是静安大悦城店、长风大悦城店和金桥店。至此,Keepland上海的所有门店关闭,仅剩北京的9门店。
其次,Keep也曾寄希望于健身餐饮,毕竟疫情期间大部分人宅家做饭,简单烹饪的轻食和健身饮品有广阔的空间。然而,2020年8月,消费者在Keep魔芋酸辣粉中吃出黑色肉虫,Keep食品信誉度大打折扣。紧接着,2020年11月,Keep一款高纤蛋白奶昔里部分维生素等均被测出低于标准值。
截至目前,Keep首页中轻食业务中部分服务已经悄悄“下架”,Keep天猫旗舰店也再无饮食类产品。
更重要的是,Keep的运动装备领域也出现了问题,其运动品因为质量问题被监管部门曝光。2020年6月,江苏消保委通报,Keep商城销售的多项产品如文胸、跑步袜等使用说明不符合标准。
“Keep现在的困局是,需要耐着性子找到适合自己的盈利模式,而不是横冲直撞”,某投资机构高管Harry对新浪科技表示,“自律的人都用Keep,但是赚不到这些所谓自律人的钱,这对于Keep来说很致命。”
“Keep选择走了流量这条路,现在回头来看流量变现很难”,对于Keep近两年来在商业模式上的不断试错,Harry表示,“横向对比健身行业的其他巨头,Keep正走出截然不同的路。某竞品成立起就是做线下连锁体系,对于某竞品来说就是努力做好服务拉升复购率,直接、赚钱、简单。而Keep在2018年底才开始尝试线下模式,不客气的说,有学习某竞品之嫌。”
“Keep需要解决如何把流量变成收入的问题。”北京京商战略研究院院长赖阳此前对媒体表示,“Keep扩展了很多盈利的方式,但是最终能否让消费者自愿买单?这是需要解决的。”
截至目前,对于Keep来说,智能动感单车、跑步机等消费品业务变成接下来商业化的终点,由线上、轻食、商城、Keepland和硬件打造的“吃、穿、用、练”商业场景已经成为过去时。
发展之舍得:要口碑还是要生存?
流量曾经是Keep的王牌,但在不停的商业化尝试下,Keep用户也“经不起折腾”。
QuestMobile数据显示,2015年到2019年,Keep的活跃用户数据在上升,但是用户使用时长呈下跌趋势。2017年中旬,其用户使用时长曾达到顶峰,但此后的两年,都没能重回这一数值,反而还曾在2019年跌回2016年的水准。
另一份数据表明,2020年3月,Keep曾有高达850万的活跃用户,但疫情过后,Keep的用户数据表现却“水落石出”。时隔数月,从产品数据分析用户留存,暴涨的那群人并没有很好的被留存住。
随着业务的推广和商业诉求的增加,Keep线上App也越做越重。
如今打开Keep的页面已经不如过去简洁,打开“探索”发现页,充斥着“开学大促”、硬件、Keepland,每一个类目再点击,依次展开更加层层叠叠的子类目。
“一次次更新以后,想要找到我需要的运动越来越难了,每次都需要点点点点点,不是很熟悉还真找不到。”一位Keep的老用户琳琳表示,“已经有‘探索’这样商城了,麻烦‘运动’和‘计划’里就不要再有广告了。每次开始运动、深呼吸,然后突然播放广告,感觉自己白深呼吸了半天。”
有评价认为,激进的商业化升级无可避免地得罪了用户,理不顺的商业模式导致Keep不会停止新的尝试,而尝试意味着失去用户,Keep陷入迷宫中的死循环,即便是想让DAU保留在原有数据都需要拼尽全力。
结语
长久以来,不急于盈利的Keep一直被诟病“没有商业模式”,但被O2O、共享单车等风口教育过的资本市场早已过了”只看规模不看收益“的草莽时期。
目前来看,Keep有用户、有流量,但良性的商业模式循环尚未跑通,这对一家自我造血能力并不强的公司来说意味着生存考验。
如今的Keep有些进退两难:进,不断的商业化尝试折损积攒的用户;退,放弃商业化将失去资本市场的青睐。在“用户体验”和“生存”之间,王宁逐渐向后者倾斜。
舍得之间,Keep也逃不过谋求发展的宿命。















